GM Service Manual Online
For 1990-2009 cars only

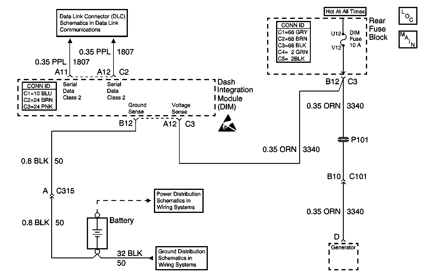
Object Number: 513041  Size: MF
Engine Electrical Components
Generator and Battery
Serial Data Class 2 (1 of 3)
Handling ESD Sensitive Parts Notice
Rear Fuse Block Battery Voltage
G300, G303, G304, G306

Circuit Description

The Dash Integration Module (DIM) has a designated circuit for monitoring vehicle system voltage. Also, other modules monitor system voltage. The DIM sends the system voltage status to other modules that do not monitor system voltage via Class 2 message. When the DIM sets B1390, the system voltage status sent to the modules will default to 12.9 Volts.

Conditions for Running the DTC

The ignition switch is not in the OFF or CRANK mode.

Conditions for Setting the DTC

This DTC will set as current when the voltage is less than 9 volts for 1.2 seconds.

Action Taken When the DTC Sets

The modules disable the setting of "U" codes and other DTCs.

Conditions for Clearing the DTC

    • The DTC will clear from current status when the voltage is greater than or equal to 9.4 volts for 1.2 seconds.
    • A history DTC will clear after 50 consecutive ignition cycles if the condition for the malfunction is no longer present.
    • Use the ON-Board clearing DTCs feature.
    • Use a scan tool.

Diagnostic Aids

The following conditions are independent of the DTC, but will occur with the DTC set current.

    • The battery charge indicator is illuminated on the instrument cluster.
    • The BATTERY VOLTS LOW message is displayed on the driver information center (DIC).

Test Description

The numbers below refer to the step numbers on the diagnostic table.

  1. Tests for the proper voltage at the voltage sense input circuit of the DIM.

  2. Tests the ground sense circuit of the DIM.

  3. Tests for the proper voltage at any other module setting the DTC B1327. If voltage is not within the proper operating range, the battery positive voltage and ground circuits of that module need to be tested.

Step

Action

Value(s)

Yes

No

1

Did you perform the Starting and Charging Diagnostic System Check?

--

Go to Step 2

Go to Diagnostic System Check - Engine Electrical

2

  1. Install a scan tool.
  2. Turn ON the ignition, with the engine OFF.
  3. With a scan tool, observe the battery voltage parameter in the Dash Integration Module (DIM) data list.

Does the voltage measure greater than the specified value?

9.4 Volts

Go to Step 5

Go to Step 3

3

  1. Turn OFF the ignition.
  2. Disconnect the DIM.
  3. Turn ON the ignition, with the engine OFF.
  4. Measure the voltage between the voltage sense circuit of the DIM and the ground sense circuit of the DIM.

Does the voltage measure greater than the specified value?

9.4 Volts

Go to Step 10

Go to Step 4

4

Measure the voltage from the voltage sense circuit of the DIM to a good ground.

Does the voltage measure greater than the specified value?

9.4 Volts

Go to Step 9

Go to Step 8

5

With a scan tool, observe the battery voltage parameter in the data list of the module setting DTC B1327.

Does the voltage measure greater than the specified value?

9.4 Volts

Go to Testing for Intermittent Conditions and Poor Connections in Wiring Systems

Go to Step 6

6

  1. Turn OFF the ignition.
  2. Disconnect the harness connector of the module setting the DTC B1327.
  3. Measure the voltage between the battery positive voltage circuit of the module setting the DTC B1327 and the ground circuit of the module setting the DTC B1327.

Does the voltage measure greater than the specified value?

9.4 Volts

Go to Step 10

Go to Step 7

7

Measure the voltage between the battery positive voltage circuit of the module setting the DTC B1327 and a good ground.

Does the voltage measure greater than the specified value?

9.4 Volts

Go to Step 9

Go to Step 8

8

Test the voltage sense circuit of the module setting the code for a high resistance or an open. Refer to Circuit Testing and Wiring Repairs in Wiring Systems.

Did you find and correct the condition?

--

Go to Step 12

Go to Step 10

9

Test the ground sense circuit of the module setting the code for a high resistance or an open. Refer to Circuit Testing and Wiring Repairs in Wiring Systems.

Did you find and correct the condition?

--

Go to Step 12

Go to Step 10

10

Inspect for poor connections at the harness connector of the module setting the code. Refer to Testing for Intermittent Conditions and Poor Connections and Connector Repairs in Wiring Systems.

Did you find and correct the condition?

--

Go to Step 12

Go to Step 11

11

Important: Perform the setup procedure for the module setting the code, if necessary.

Replace the module setting the code. Refer to the appropriate Repair instructions for module replacement.

Did you complete the replacement?

--

Go to Step 12

--

12

  1. Use the scan tool in order to clear the DTCs.
  2. Operate the vehicle within the Conditions for Running the DTC as specified in the supporting text.

Does the DTC reset?

--

Go to Step 2

System OK