GM Service Manual Online
For 1990-2009 cars only
Makes
🢒
Cadillac
🢒
2001
🢒
DeVille
🢒
Body and Accessories
🢒
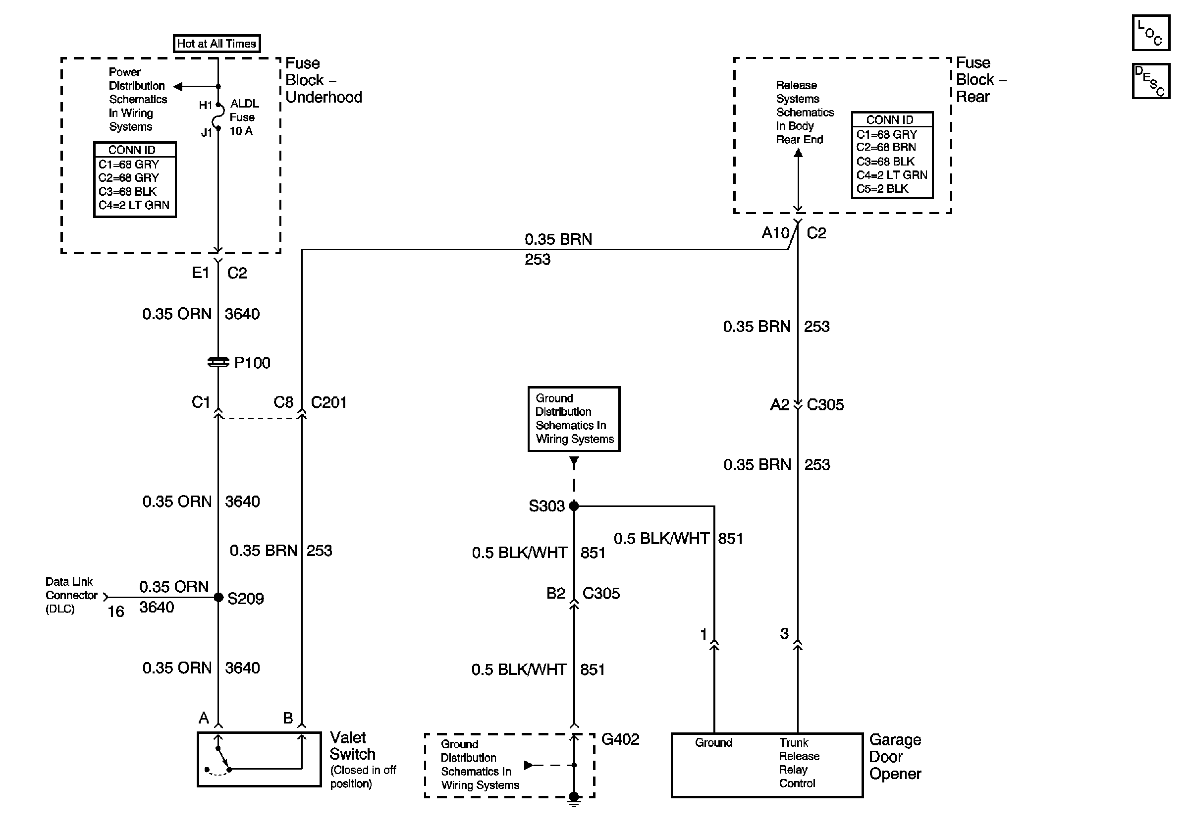
Garage Door Opener
🢒 Garage Door Opener Schematics
Master Electrical Component List
G402 Headliner, Fuel Sender, V4U/B9Q
G402 Headliner, Fuel Sender, V4U/B9Q
ALDL, PCM BATT, IP Fuses
Fuse Blocks, Actuators, and Rear Integration Module (RIM)