GM Service Manual Online
For 1990-2009 cars only
Makes
🢒
Cadillac
🢒
2001
🢒
DeVille
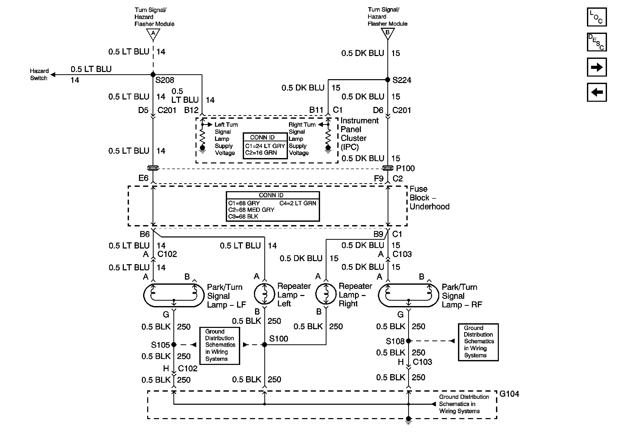
🢒 Front Park/Turn and Repeater Lamps
Front Park/Turn and Repeater Lamps
Front Park/Turn and Repeater Lamps
Master Electrical Component List
Exterior Lighting Systems Description and Operation
Standing and Position Lamp Relays
Tail Lamps
G104
G104
G104 Horns, Lamps and Other Items