GM Service Manual Online
For 1990-2009 cars only
Makes
🢒
Cadillac
🢒
2001
🢒
DeVille
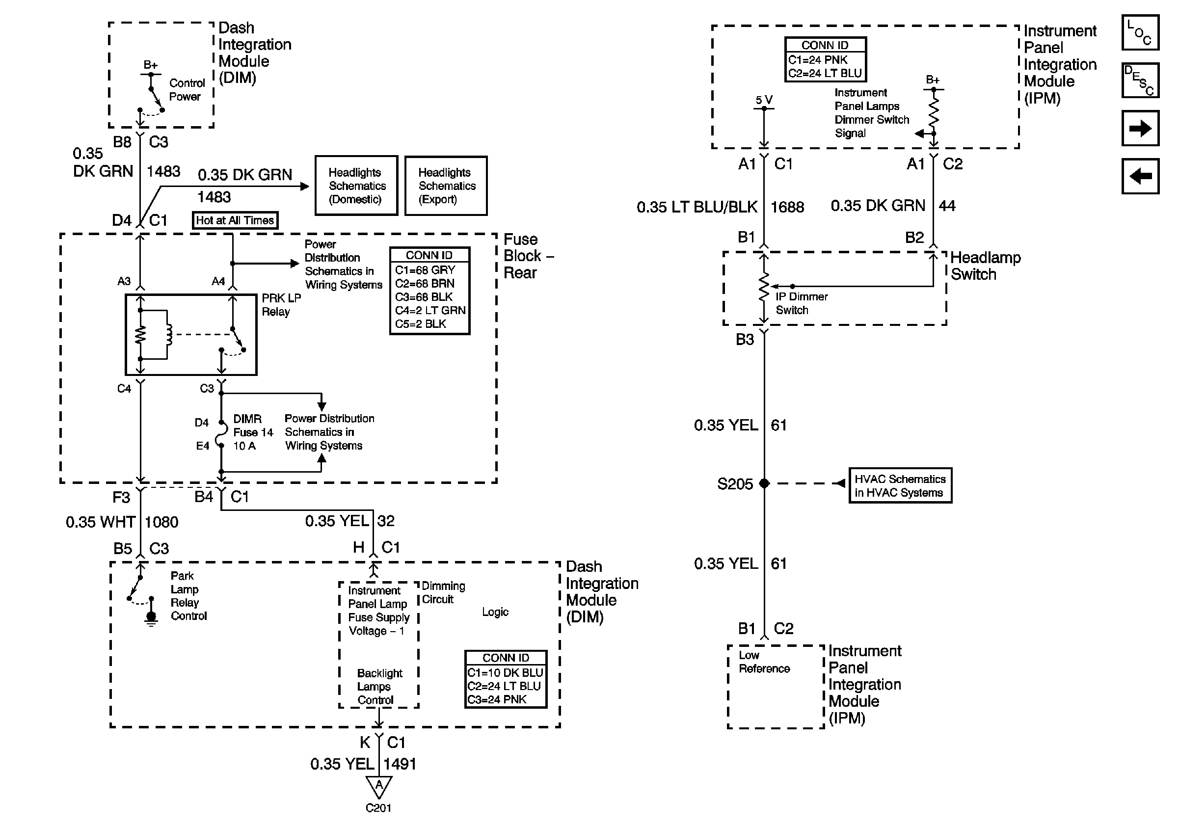
🢒 Dimming Control
Dimming Control
Dimming Control
Master Electrical Component List
Interior Lighting Systems Description and Operation
Instrument Panel Dimming
Class 2 Dimming Communication
HVAC Air Delivery/Temperature Control Sensors
Low Beam Headlamps (Export)
Low Beam Headlamps (Domestic)
Right PRK LP and Left PRK LP Fuses
DIMR and Audio Fuses