GM Service Manual Online
For 1990-2009 cars only
Makes
🢒
Cadillac
🢒
2001
🢒
DeVille
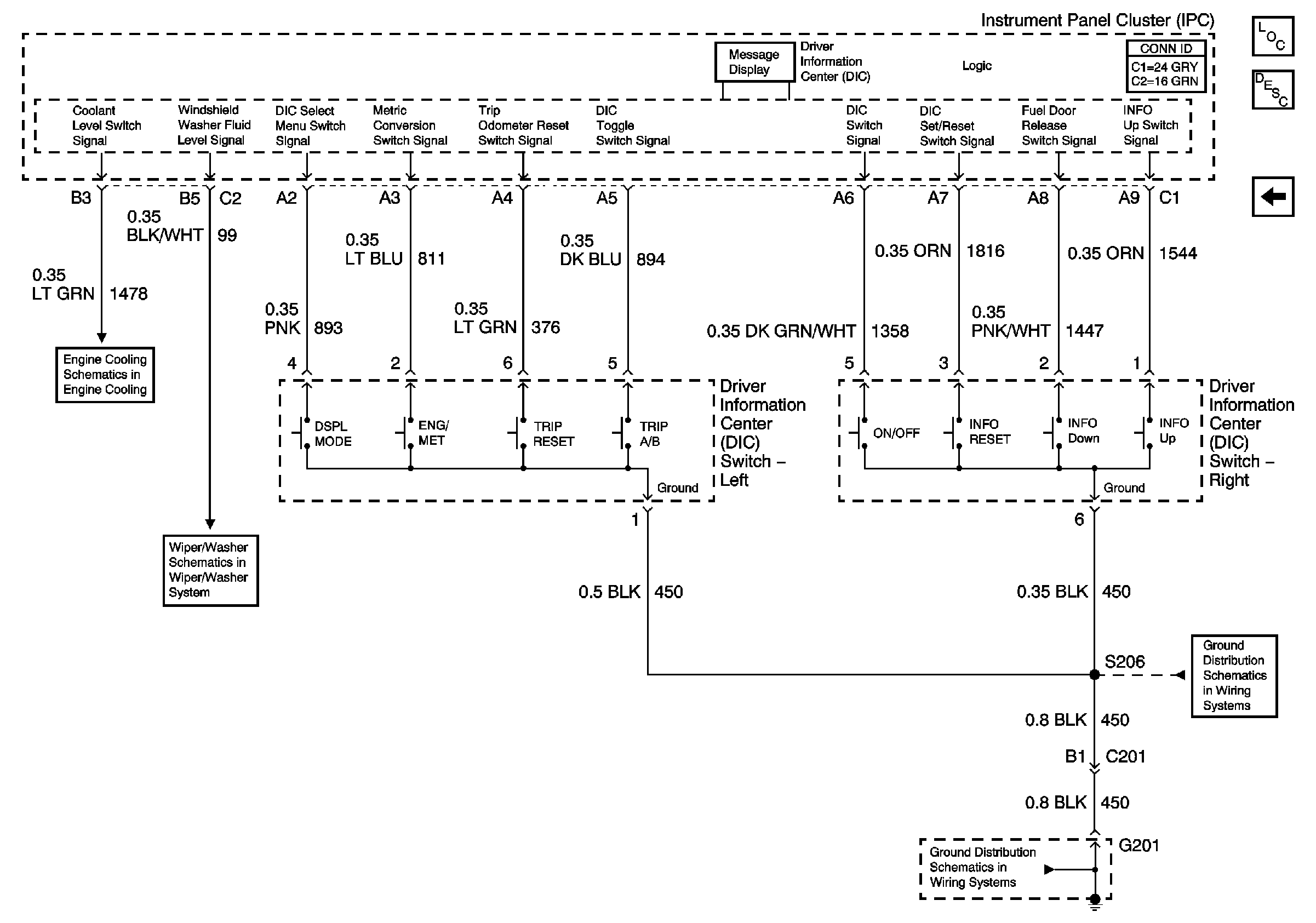
🢒 Driver Information Center
Driver Information Center
Driver Information Center
Master Electrical Component List
Instrument Cluster Description and Operation
Rear Compartment Lid Ajar Signal
Lighting, Restraints, Security, and Cruise Indicators
G201 IP Harness and Console Harness
G201 IP Harness and Console Harness
G100
Class 2 Serial Data (1 of 3)
Engine Coolant Level Switch Signal
Washer Solvent Level Switch