GM Service Manual Online
For 1990-2009 cars only
Makes
🢒
Cadillac
🢒
2001
🢒
DeVille
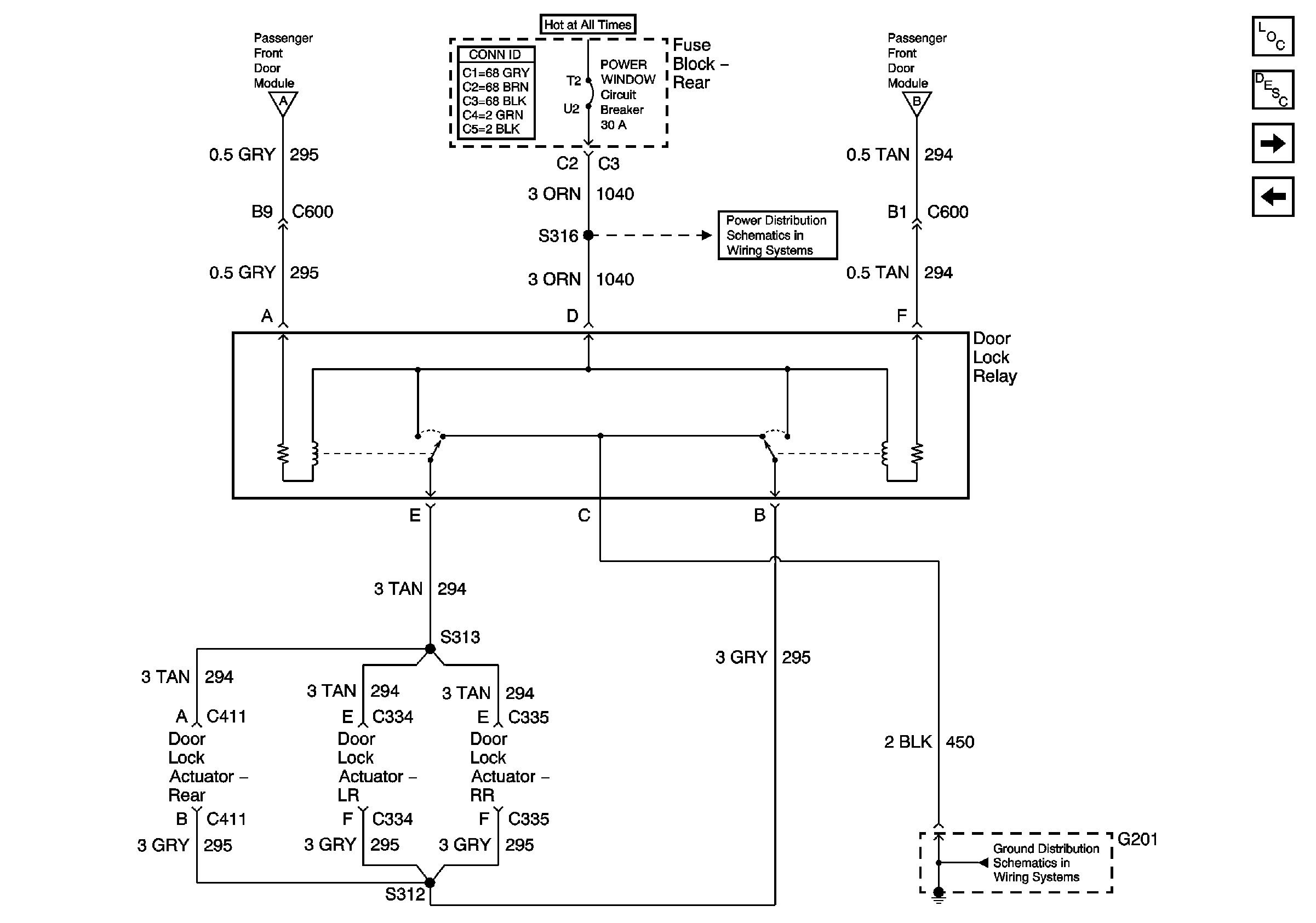
🢒 Right Front Door Power Door Lock (w/B9Q)
Right Front Door Power Door Lock (w/B9Q)
Right Front Door Power Door Lock (w/B9Q)
Master Electrical Component List
Power Door Locks Description and Operation
Right Middle Door Power Door Lock (w/V4U)
Right Front Door Power Door Lock
G201 IP Harness and Console Harness
PWR Window Circuit Breaker