GM Service Manual Online
For 1990-2009 cars only
Makes
🢒
Cadillac
🢒
2001
🢒
DeVille
🢒 Outside Mirrors
Outside Mirrors
Outside Mirrors
Master Electrical Component List
Power Windows Description and Operation
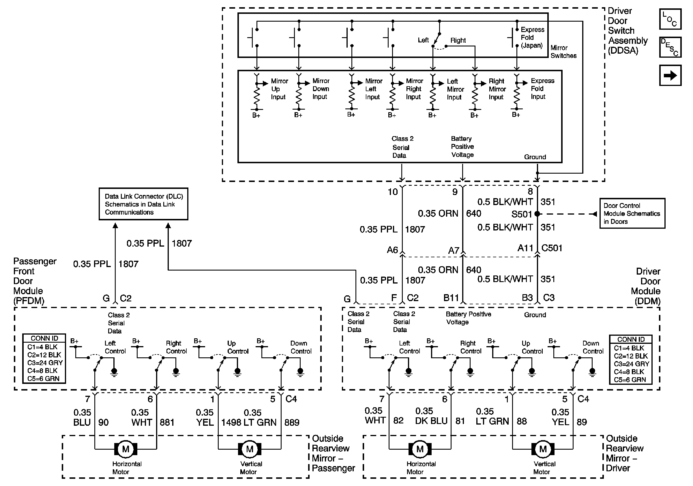
Left Power Mirror w/Memory (A45)
Driver Door Switch Assembly (DDSA) Power, Ground Inputs and Outputs
Class 2 Serial Data (2 of 3)