GM Service Manual Online
For 1990-2009 cars only
Makes
🢒
Cadillac
🢒
2002
🢒
DeVille
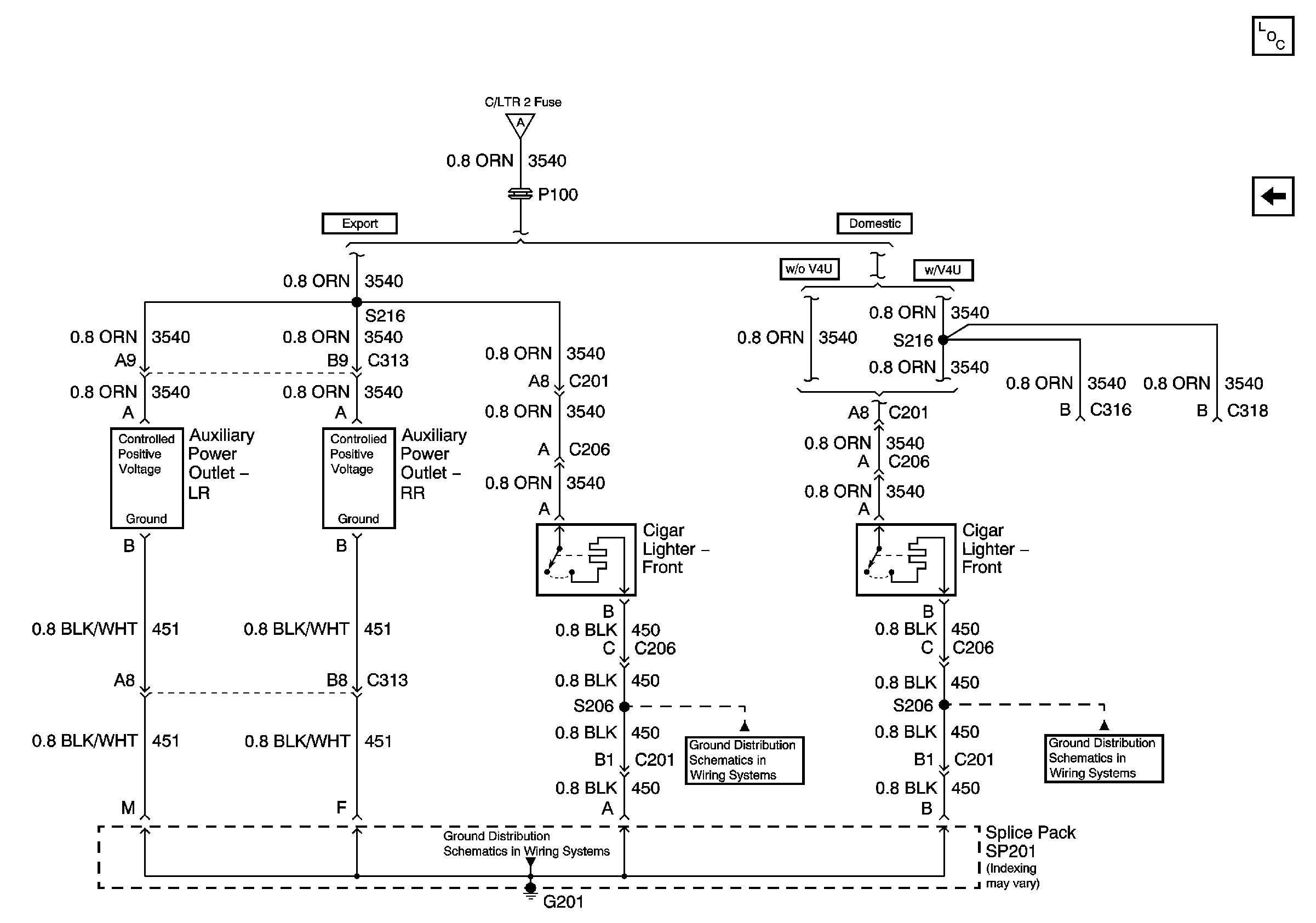
🢒 Cigar and Auxiliary Power Outlets
Cigar and Auxiliary Power Outlets
Cigar and Auxiliary Power Outlets
Master Electrical Component List
Rear Cigar Lighters
G201 2 of 3
G201 2 of 3
Rear Cigar Lighters