GM Service Manual Online
For 1990-2009 cars only
Makes
🢒
Cadillac
🢒
2002
🢒
DeVille
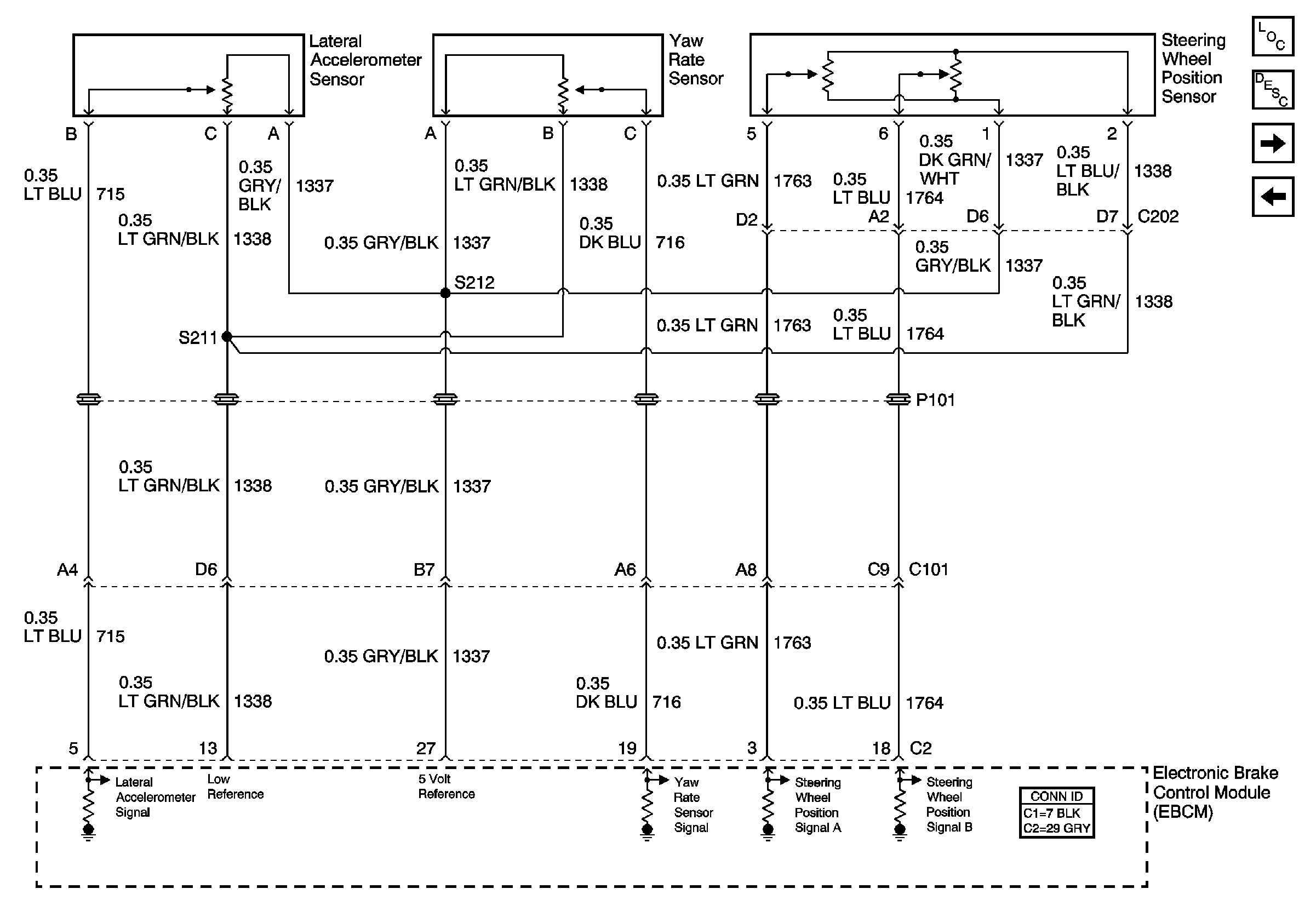
🢒 Vehicle Stability Enhancement System (w/JL4)
Vehicle Stability Enhancement System (w/JL4)
Vehicle Stability Enhancement System (w/JL4)
Master Electrical Component List
ABS Description and Operation
Suspension Inputs, Class 2, Traction Control, Variable Effort Steering
Wheel Speed Sensors