GM Service Manual Online
For 1990-2009 cars only
Makes
🢒
Cadillac
🢒
2002
🢒
DeVille
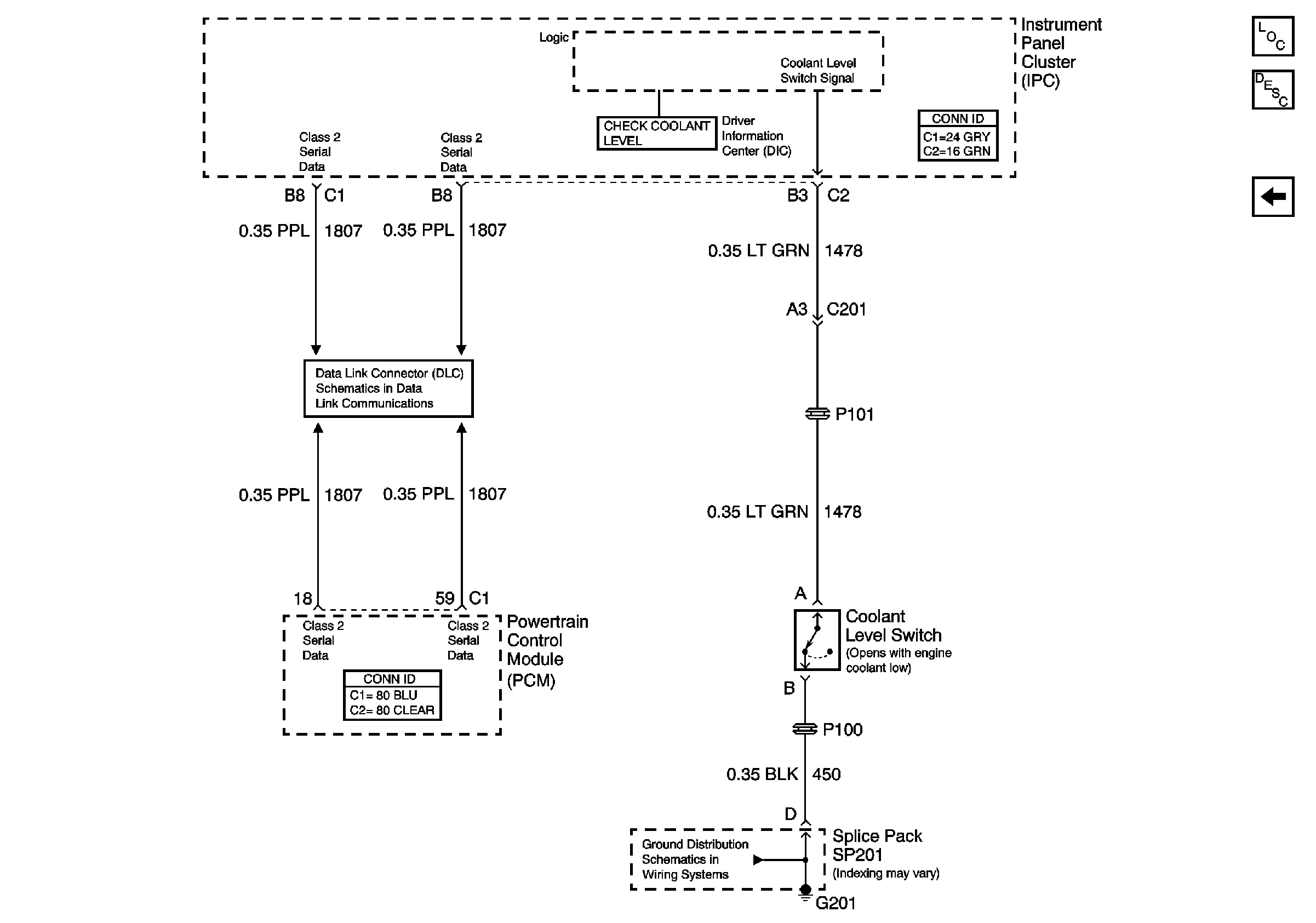
🢒 Engine Coolant Level Switch Signal
Engine Coolant Level Switch Signal
Coolant Level Switch
Master Electrical Component List
Cooling System Description and Operation
Cooling Fans
G201 1 of 3
Class 2 Serial Data (1 of 3)