GM Service Manual Online
For 1990-2009 cars only
Makes
🢒
Cadillac
🢒
2002
🢒
DeVille
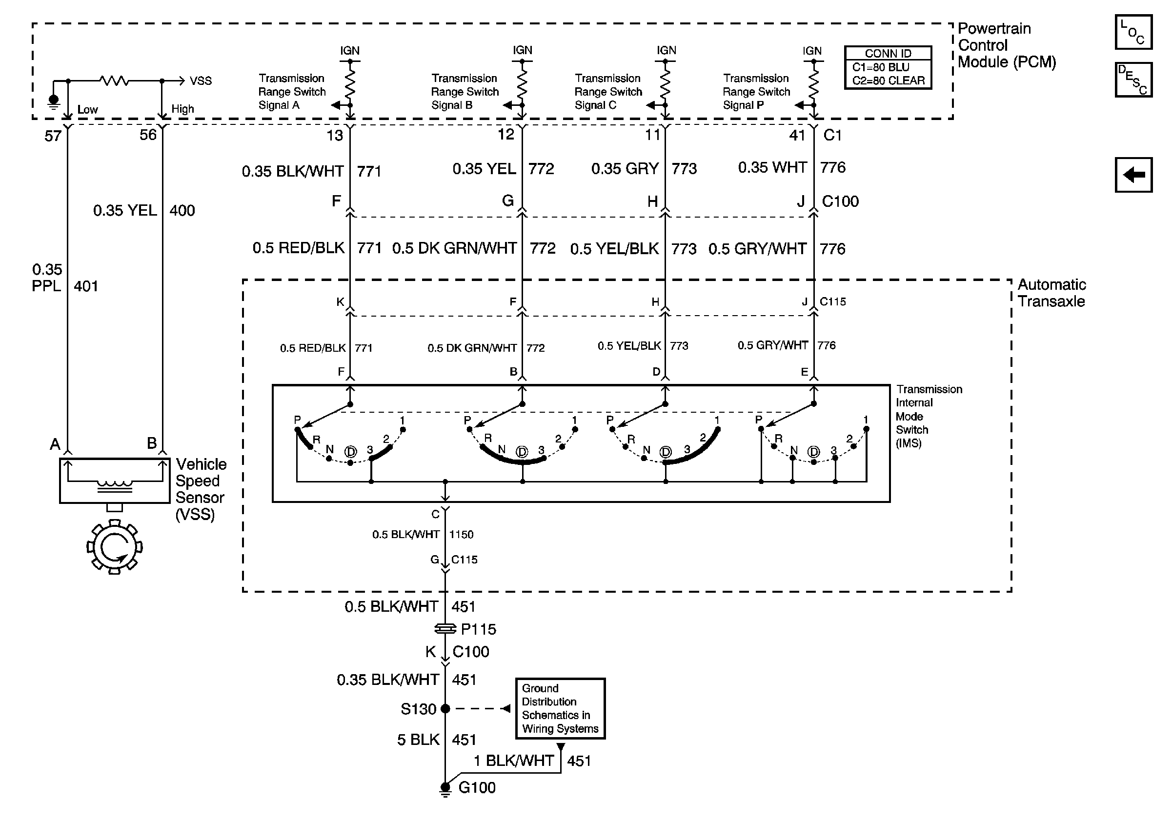
🢒 Automatic Transaxle - IMS Switch and VSS
Automatic Transaxle - IMS Switch and VSS
Transmission Internal Mode Switch (IMS) and VSS
Master Electrical Component List
Transmission General Description
Automatic Transaxle - Sensors