GM Service Manual Online
For 1990-2009 cars only
Makes
🢒
Cadillac
🢒
2002
🢒
DeVille
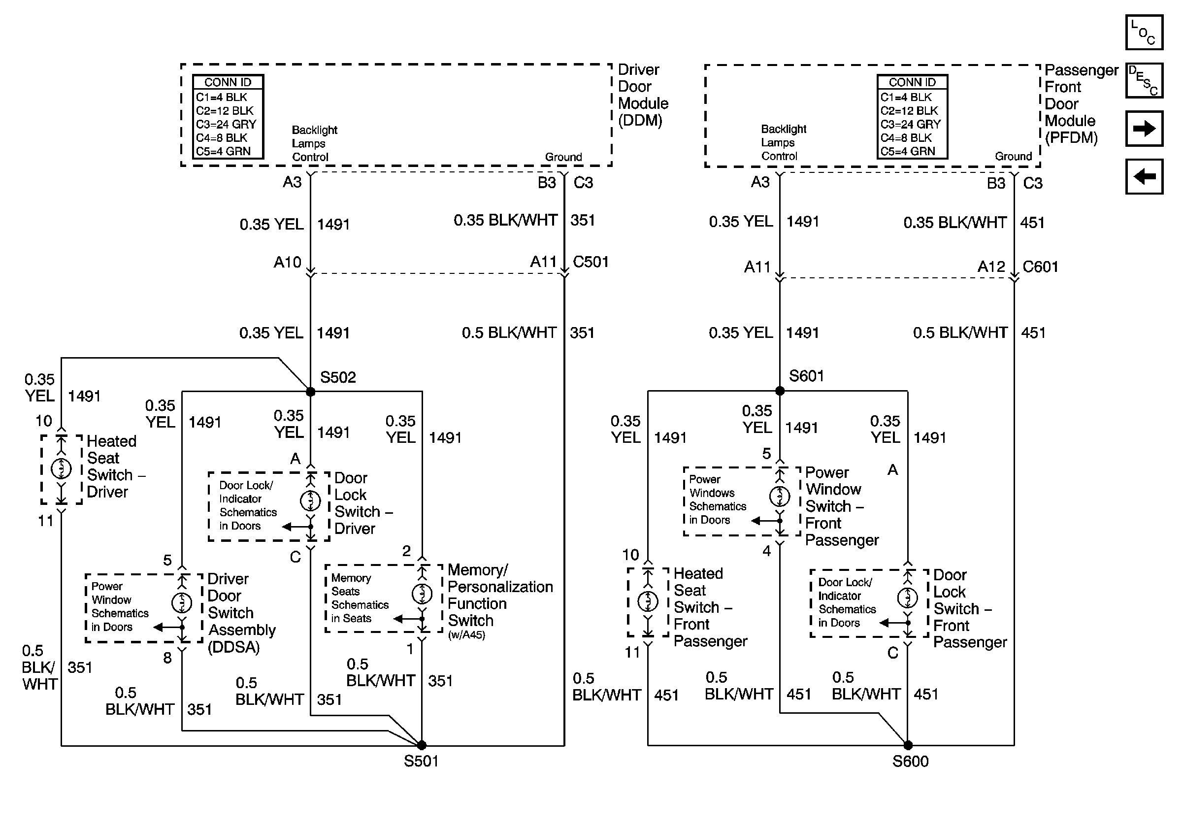
🢒 Front Door Dimming
Front Door Dimming
Front Door Dimming
Master Electrical Component List
Interior Lighting Systems Description and Operation
Middle Door Dimming
Console Dimming