GM Service Manual Online
For 1990-2009 cars only
Makes
🢒
Cadillac
🢒
2002
🢒
DeVille
🢒 Rear Door Dimming
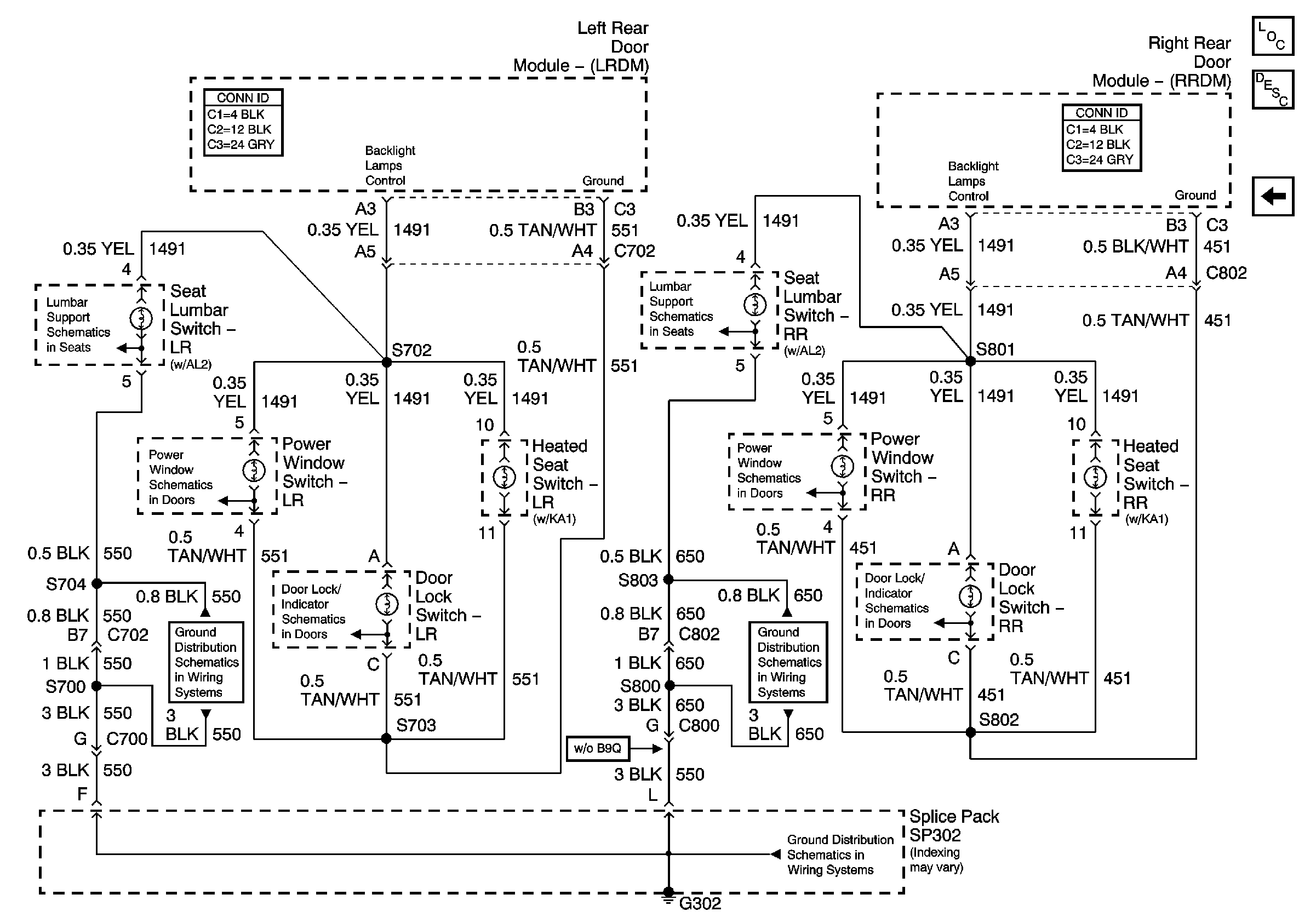
Rear Door Dimming
Rear Door Dimming
Master Electrical Component List
Interior Lighting Systems Description and Operation
Middle Door Dimming
G302 1 of 3
G302 1 of 3
G302 1 of 3