GM Service Manual Online
For 1990-2009 cars only
Makes
🢒
Cadillac
🢒
2002
🢒
DeVille
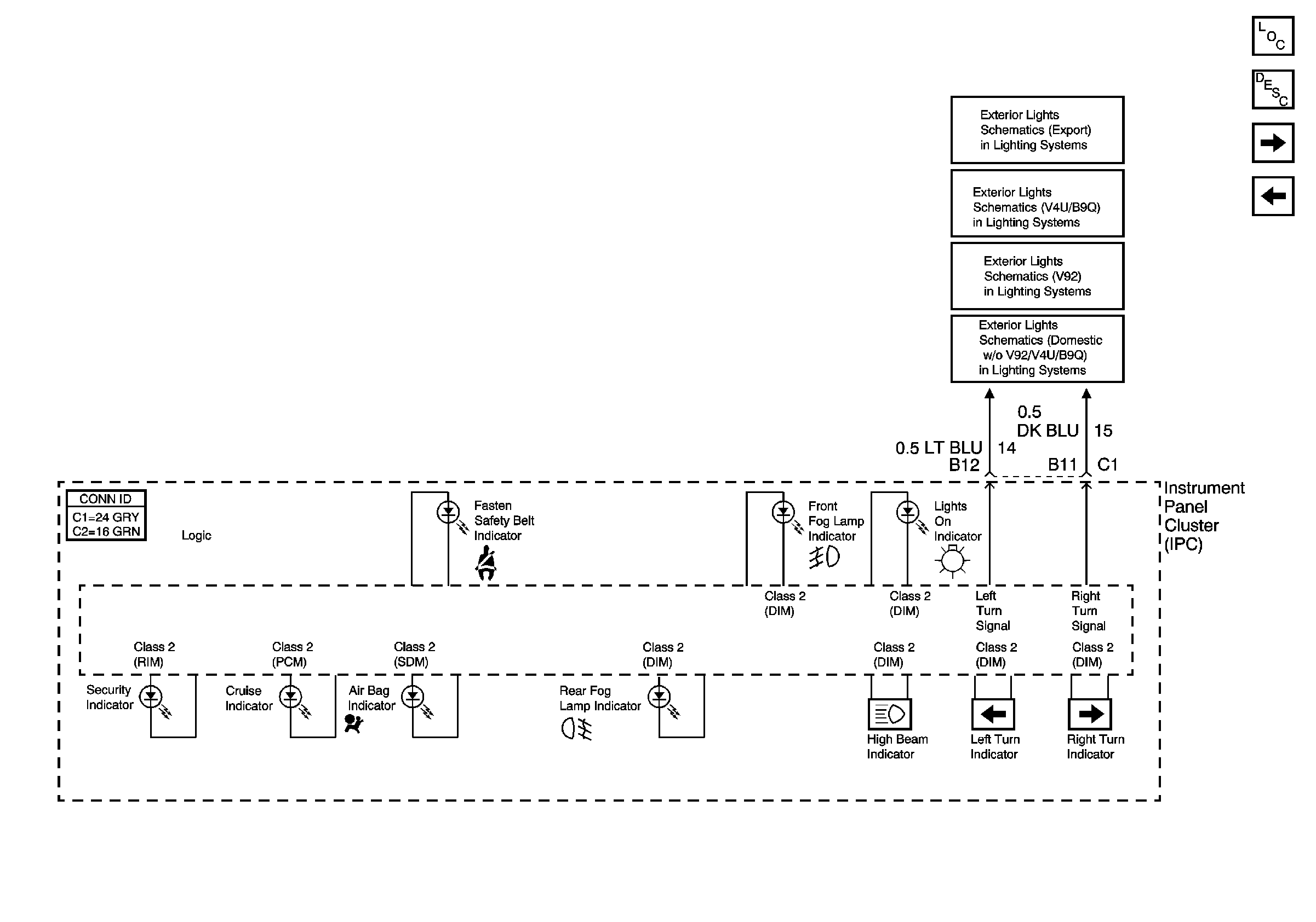
🢒 Lighting, Restraints, Security, and Cruise Indicators
Lighting, Restraints, Security, and Cruise Indicators
Lighting, Restraints, Security, and Cruise Indicators
Master Electrical Component List
Indicator/Warning Message Description and Operation
Driver Information Center
Brakes and Engine Indicators
Front Park/Turn and Repeater Lamps
Front Park/Turn and Side Marker Lamps
Front Park/Turn and Side Marker Lamps
Front Park/Turn and Side Marker Lamps