GM Service Manual Online
For 1990-2009 cars only
Makes
🢒
Cadillac
🢒
2002
🢒
DeVille
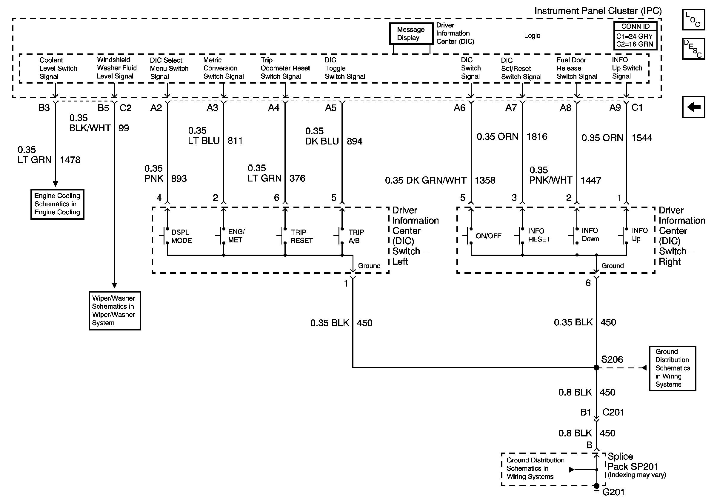
🢒 Driver Information Center
Driver Information Center
Driver Information Center
Master Electrical Component List
Driver Information Center (DIC) Description and Operation
Lighting, Restraints, Security, and Cruise Indicators
Engine Coolant Level Switch Signal
Washer Solvent Level Switch
G201 2 of 3