GM Service Manual Online
For 1990-2009 cars only
Makes
🢒
Cadillac
🢒
2002
🢒
DeVille
🢒 Memory Function Switch (w/A45/AL9)
Memory Function Switch (w/A45/AL9)
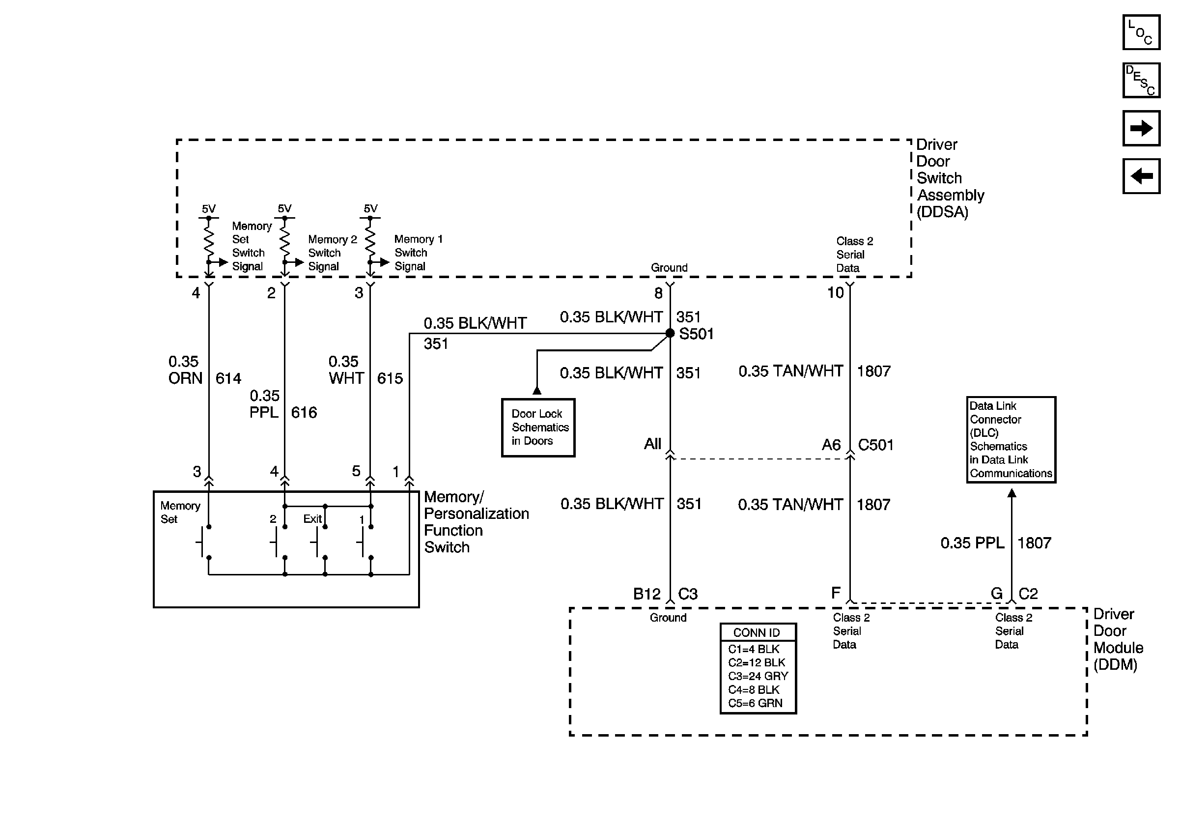
Memory/Personalization Function Switch (w/A45/AC9)
Master Electrical Component List
Memory Seats Description and Operation
Left Seat Switch, MSM, Power and Ground (w/A45/AC9)
Recline, Belt Tower Motors and Position Sensors (Class 2)
Class 2 Serial Data (3 of 3)
Outside Mirrors