GM Service Manual Online
For 1990-2009 cars only
Makes
🢒
Cadillac
🢒
2002
🢒
DeVille
🢒 Ignition Controls - Sensors
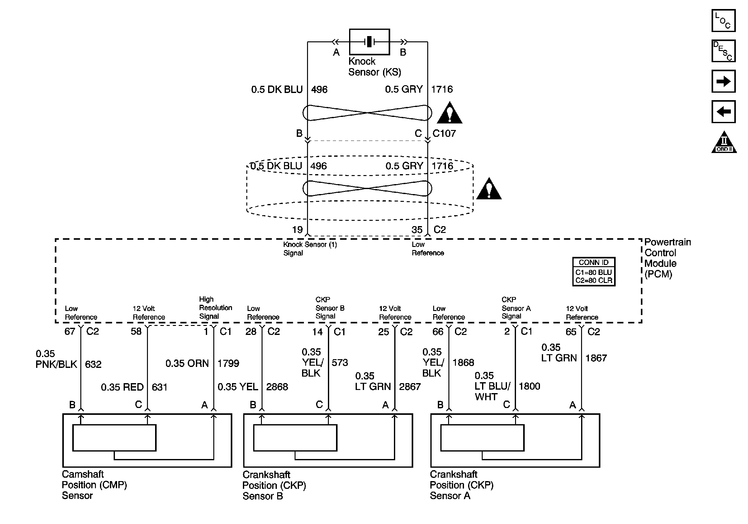
Ignition Controls - Sensors
Igniton Controls -- Sensors
Master Electrical Component List
Powertrain Control Module Description
Fuel Controls - Fuel Pump Controls
Ignition Controls - Ignition System
Data Link Communications Schematic Icons
Engine Controls Schematic Icons
Engine Controls Schematic Icons