GM Service Manual Online
For 1990-2009 cars only
Figure 1:

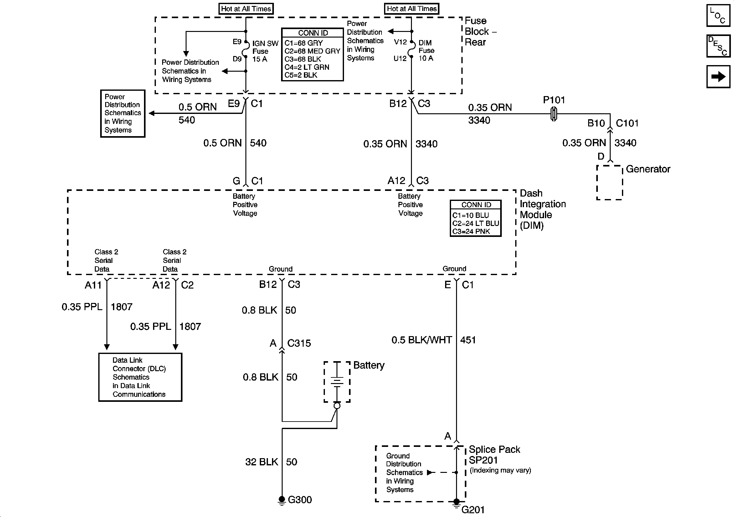
Dash Integration Module (DIM) -- Power, Ground and Serial Data


Object Number: 799917  Size: FS
Master Electrical Component List
Body Control System Description and Operation
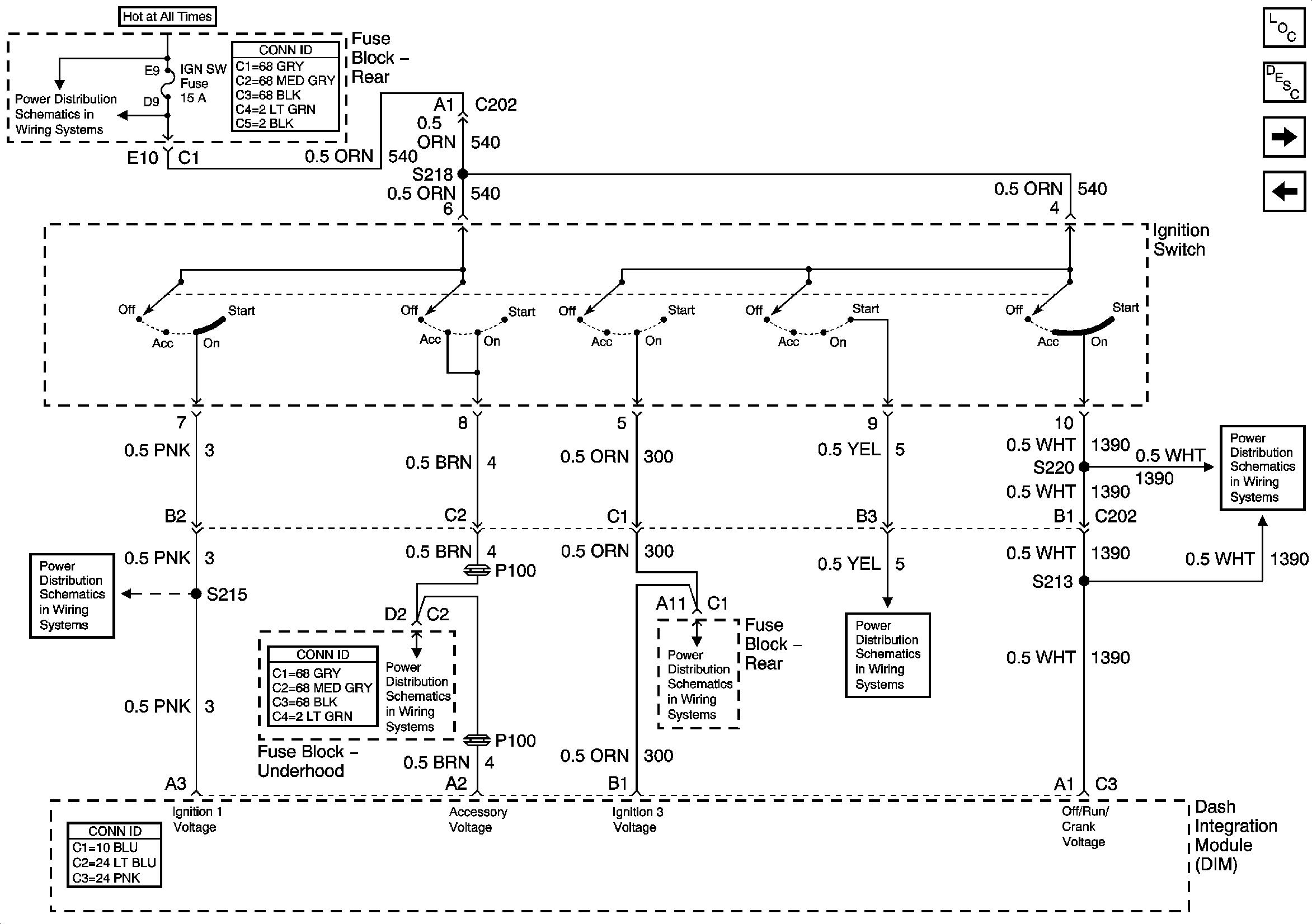
Dash Integration Module Ignition Switch Inputs
Rear Fuse Block- HVAC BLO, DRV MDL, PASS MDL, PWR TT, HTDST LR, HTDST RR, HTDST RF, DIM Fuses
Rear Fuse Block- RR BLO, RRDR MDL, HVAC BAT, STOP LP, IGN SW, TSIG/HAZ Fuse
Rear Fuse Block- RR BLO, RRDR MDL, HVAC BAT, STOP LP, IGN SW, TSIG/HAZ Fuse
Class 2 Serial Data (1 of 3)
G201 (1 of 3)
Figure 2:

Dash Integration Module (DIM) -- Ignition Switch Inputs


Object Number: 663099  Size: FS
Master Electrical Component List
Body Control System Description and Operation
Dash Integration Module Lighting Inputs and Outputs
Dash Integration Module Power, Ground and Class 2
Rear Fuse Block- RR BLO, RRDR MDL, HVAC BAT, STOP LP, IGN SW, TSIG/HAZ Fuse
Ignition Feeds to Underhood and Rear Fuse Blocks
Ignition Switch
Ignition Feeds to Underhood and Rear Fuse Blocks
Ignition Switch
Ignition Switch
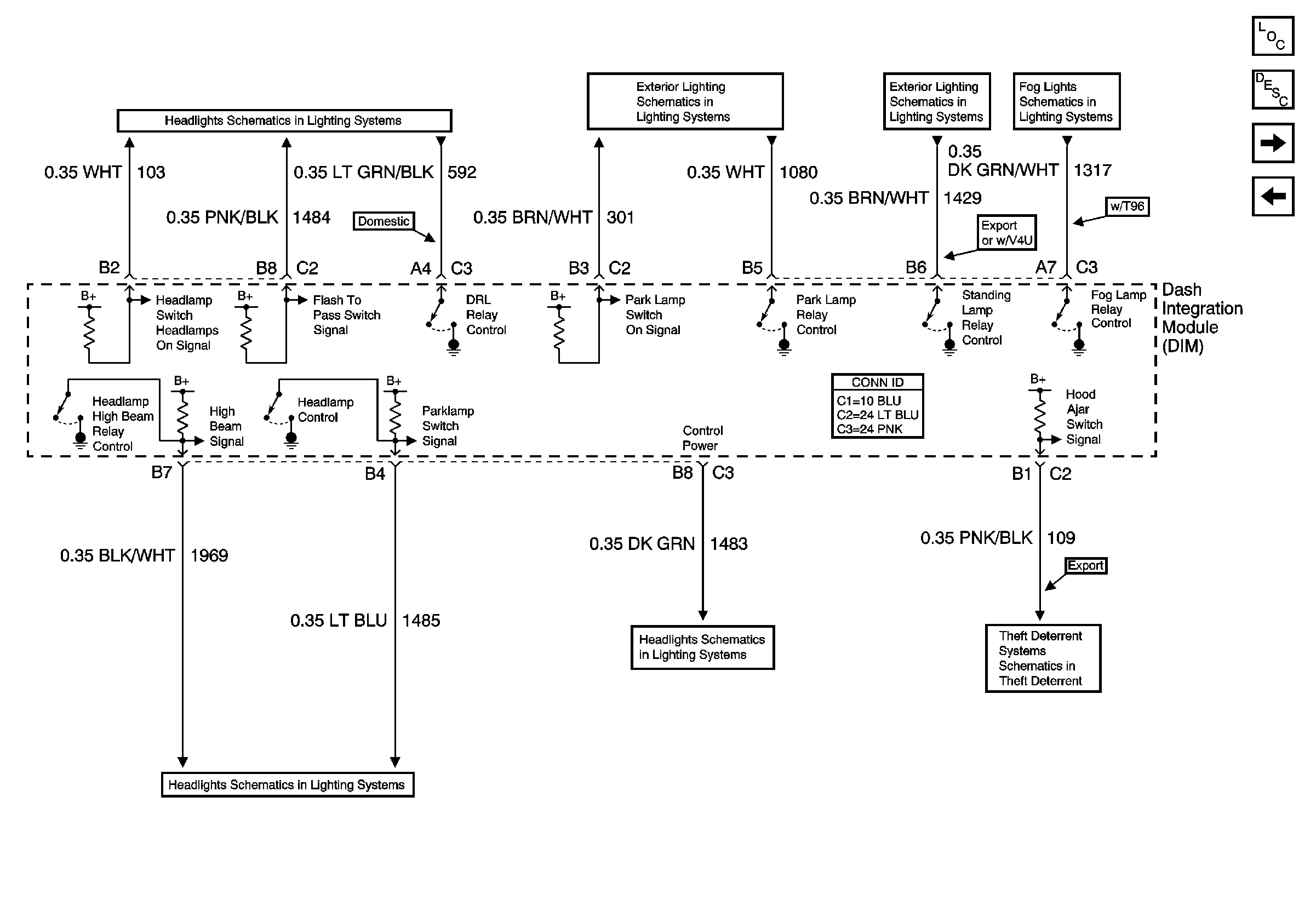
Figure 3:

Dash Integration Module (DIM) -- Lighting Inputs and Outputs


Object Number: 799918  Size: FS
Master Electrical Component List
Body Control System Description and Operation
Dash Integration Module Inputs and Outputs
Dash Integration Module Ignition Switch Inputs
Standing and Position Lamp Relays
Headlamp Switch and Park Lamp Relay
High Beam Headlamps (Domestic)
Low Beam Headlamps (Export)
CTD System Inputs and Outputs
Headlamp Switch and Park Lamp Relay
Figure 4:

Dash Integration Module (DIM) -- Inputs and Outputs


Object Number: 799919  Size: FS
Master Electrical Component List
Body Control System Description and Operation
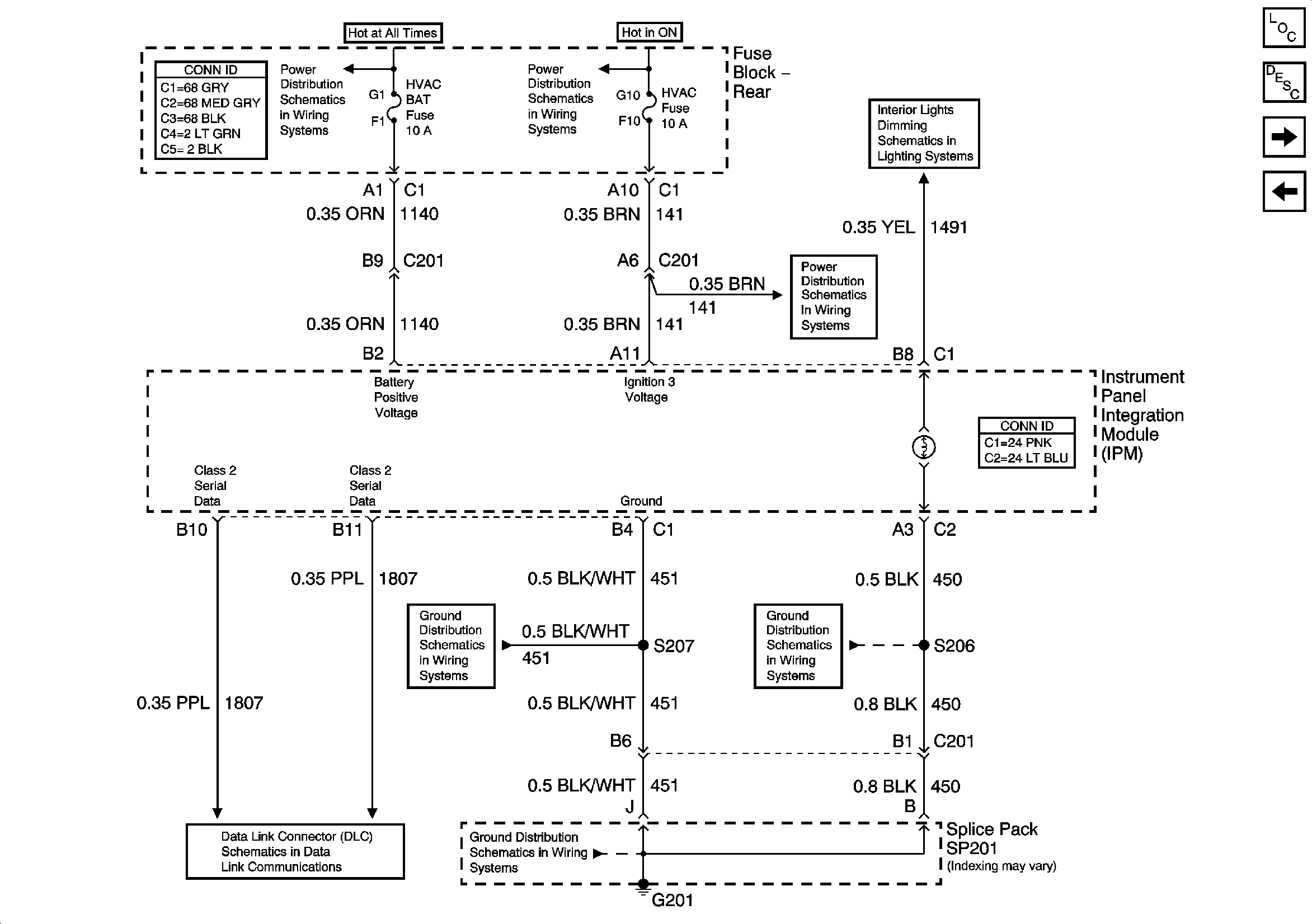
Instrument Panel Integration Module Power, Ground and Class 2Instrument Panel Integration Module Power, Ground and Class 2
Dash Integration Module Lighting Inputs and Outputs
Reverse Lockout
Steering Wheel Controls
Horns Schematics
CTD System Inputs and Outputs
Flasher Module, Turn Signal and Hazard Switch
CTD System Inputs and Outputs
Actuators and Inside Air Temperature Sensor
Wiper/Washer Switch and Pump
Dimming Control
A/C Compressor Control
Figure 5:

Instrument Panel Integration Module (IPM) Power, Ground and Serial Data


Object Number: 799922  Size: FS
Master Electrical Component List
Body Control System Description and Operation
Instrument Panel Integration Module HVAC Inputs and Outputs
Dash Integration Module Inputs and Outputs
Dimming Control
Rear Fuse Block- ELC, NIGHT VISION, HVAC, ABS Fuses
Rear Fuse Block- RR BLO, RRDR MDL, HVAC BAT, STOP LP, IGN SW, TSIG/HAZ Fuse
Rear Fuse Block- ELC, NIGHT VISION, HVAC, ABS Fuses
G201 (3 of 3)
G201 (2 of 3)
Class 2 Serial Data (1 of 3)
G201 (3 of 3)
Figure 6:

Instrument Panel Integration Module (IPM) -- HVAC Inputs and Outputs


Object Number: 723467  Size: FS
Master Electrical Component List
Body Control System Description and Operation
Instrument Panel Integration Module Inputs and Outputs
Instrument Panel Integration Module Power, Ground and Class 2Instrument Panel Integration Module Power, Ground and Class 2
Actuators and Inside Air Temperature Sensor
Air Temperature and Sunload Sensor
Front Blower Motor
Figure 7:

Instrument Panel Integration Module (IPM) -- Inputs and Outputs


Object Number: 663112  Size: FS
Master Electrical Component List
Body Control System Description and Operation
Rear Integration Module Power, Ground and Class 2
Instrument Panel Integration Module HVAC Inputs and Outputs
Class 2 Communication
Indicators and Traction Control Switch
Headlamp Switch (Export)
Headlamp Switch (Export)
Dimming Control
Dimming Control
Class 2 Communication
Power and Ground
Interior Lamp Relay, Headlamp Switch and Rear Door Courtesy Lamps
Flasher Module, Turn Signal and Hazard Switch
Radio Output and Key-In-Ignition Signal
Release Systems- IPM and Switch
Figure 8:

Rear Integration Module (RIM) -- Power, Ground and Serial Data


Object Number: 799923  Size: FS
Master Electrical Component List
Body Control System Description and Operation
Rear Integration Module Inputs and Outputs (1 of 2)
Instrument Panel Integration Module Inputs and Outputs
Rear Fuse Block- SIR, VENT SOL, IGN 1Fuse
Rear Fuse Block- RR BLO, RRDR MDL, HVAC BAT, STOP LP, IGN SW, TSIG/HAZ Fuse
Rear Fuse Block- RR BLO, RRDR MDL, HVAC BAT, STOP LP, IGN SW, TSIG/HAZ Fuse
Rear Fuse Block- SIR, VENT SOL, IGN 1Fuse
Class 2 Serial Data (1 of 3)
G401
Figure 9:

Rear Integration Module (RIM) -- Lighting, Release Systems and Other Inputs and Outputs


Object Number: 799924  Size: FS
Master Electrical Component List
Body Control System Description and Operation
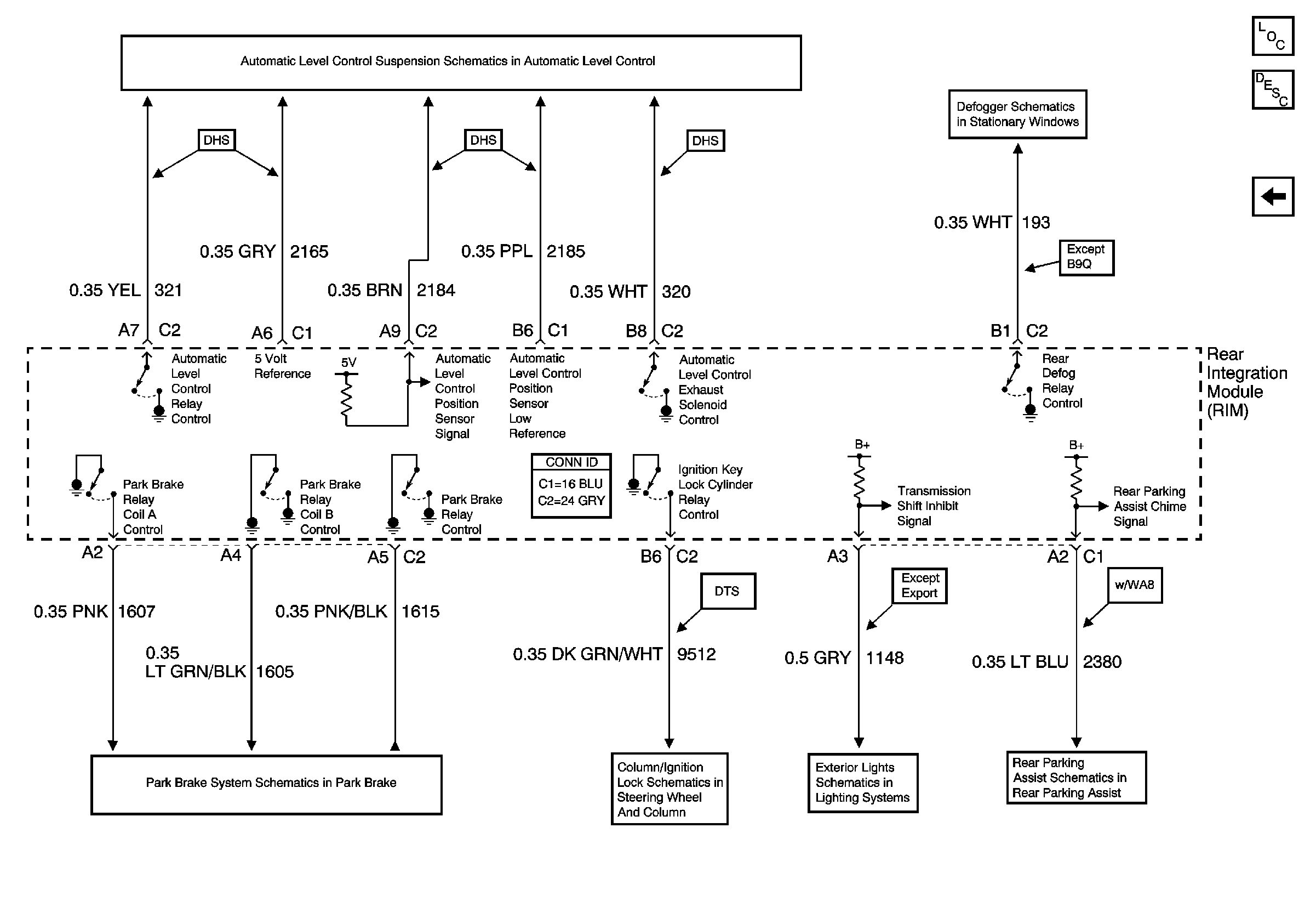
Rear Integration Module Inputs and Outputs (2 of 2)
Rear Integration Module Power, Ground and Class 2
Release Systems- Actuators and RIM
Rear Compartment Lid Ajar Signal
Interior Lamp Relay, Headlamp Switch and Rear Door Courtesy Lamps
Rear Cigar Lighters
Interior Lamp Relay, Headlamp Switch and Rear Door Courtesy Lamps
Backup Lamps Schematics
Inside Rearview Mirror Schematics
Front Door Courtesy, Rear Compartment, and Underhood Lamps
Door Open Inputs (w/B9Q)
CTD System Inputs and Outputs
Retained Accessory Power (RAP) Schematics
Figure 10:

Rear Integration Module (RIM) -- Level Control and Other Inputs and Outputs


Object Number: 663127  Size: FS
Master Electrical Component List
Body Control System Description and Operation
Rear Integration Module Inputs and Outputs (1 of 2)
w/o F45
Brake Warning System Schematics
Column/Ignition Lock Schematics
Left Tail Lamp
Rear Object Sensor Control Module Power and Ground
Defogger (w/o B9Q)