GM Service Manual Online
For 1990-2009 cars only
Makes
🢒
Cadillac
🢒
2004
🢒
DeVille
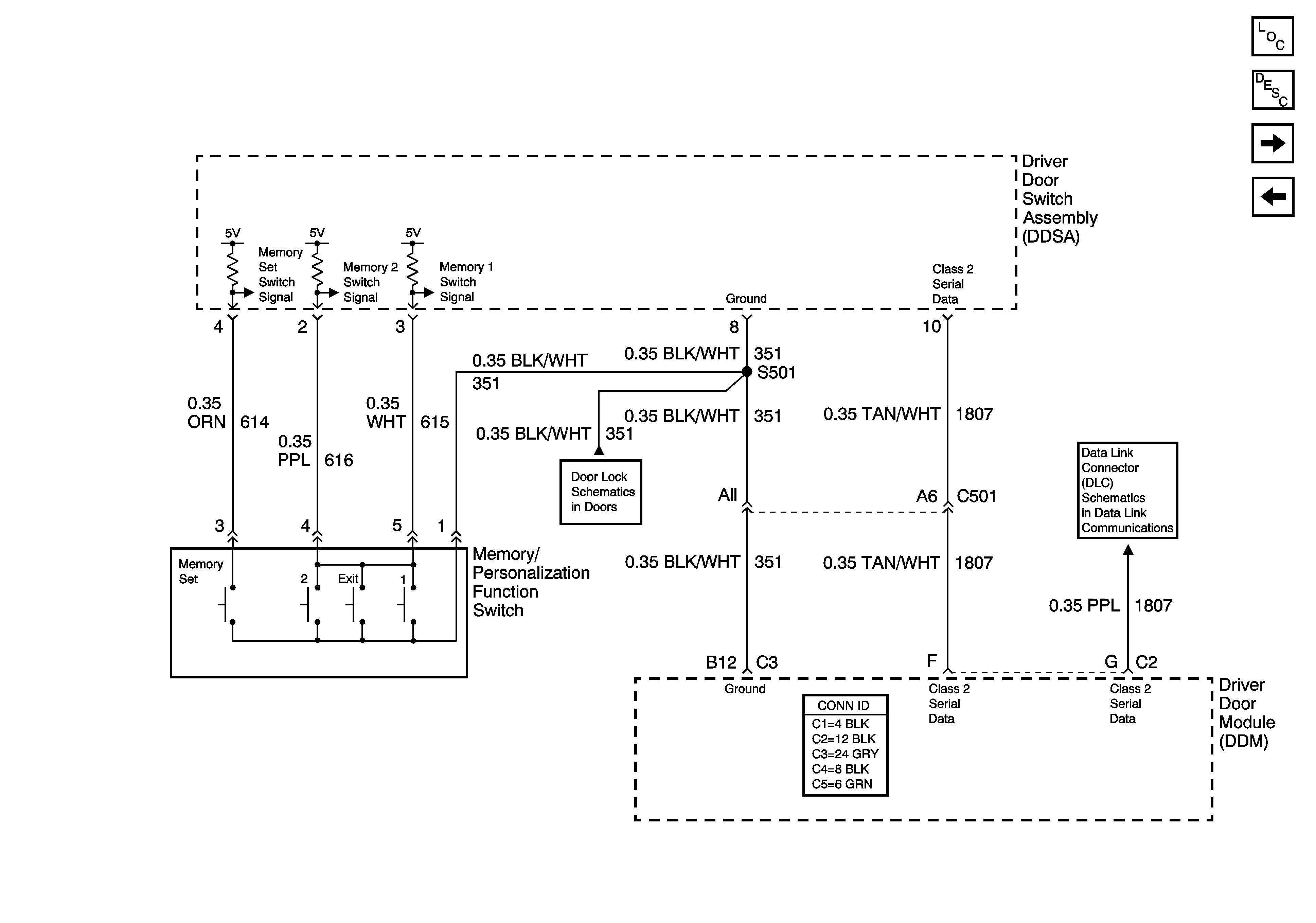
🢒 Memory/Personalization Function Switch (w/ A45)
Memory/Personalization Function Switch (w/ A45)
Memory/Personalization Function Switch (w/A45)
Master Electrical Component List
Memory Seats Description and Operation
Vertical and Horizontal Position Sensors (w/ A45)
Power and Ground (w/ A45)
Class 2 Serial Data (3 of 3)
Outside Mirrors