GM Service Manual Online
For 1990-2009 cars only
Makes
🢒
Cadillac
🢒
2004
🢒
DeVille
🢒 Power and Ground (w/ A45)
Power and Ground (w/ A45)
Power and Ground (w/A45)
Master Electrical Component List
Memory Seats Description and Operation
Memory/Personalization Function Switch (w/ A45)
Climate Control Seat Module (w/ KA1)
G302 (2 of 3)
G302 (2 of 3)
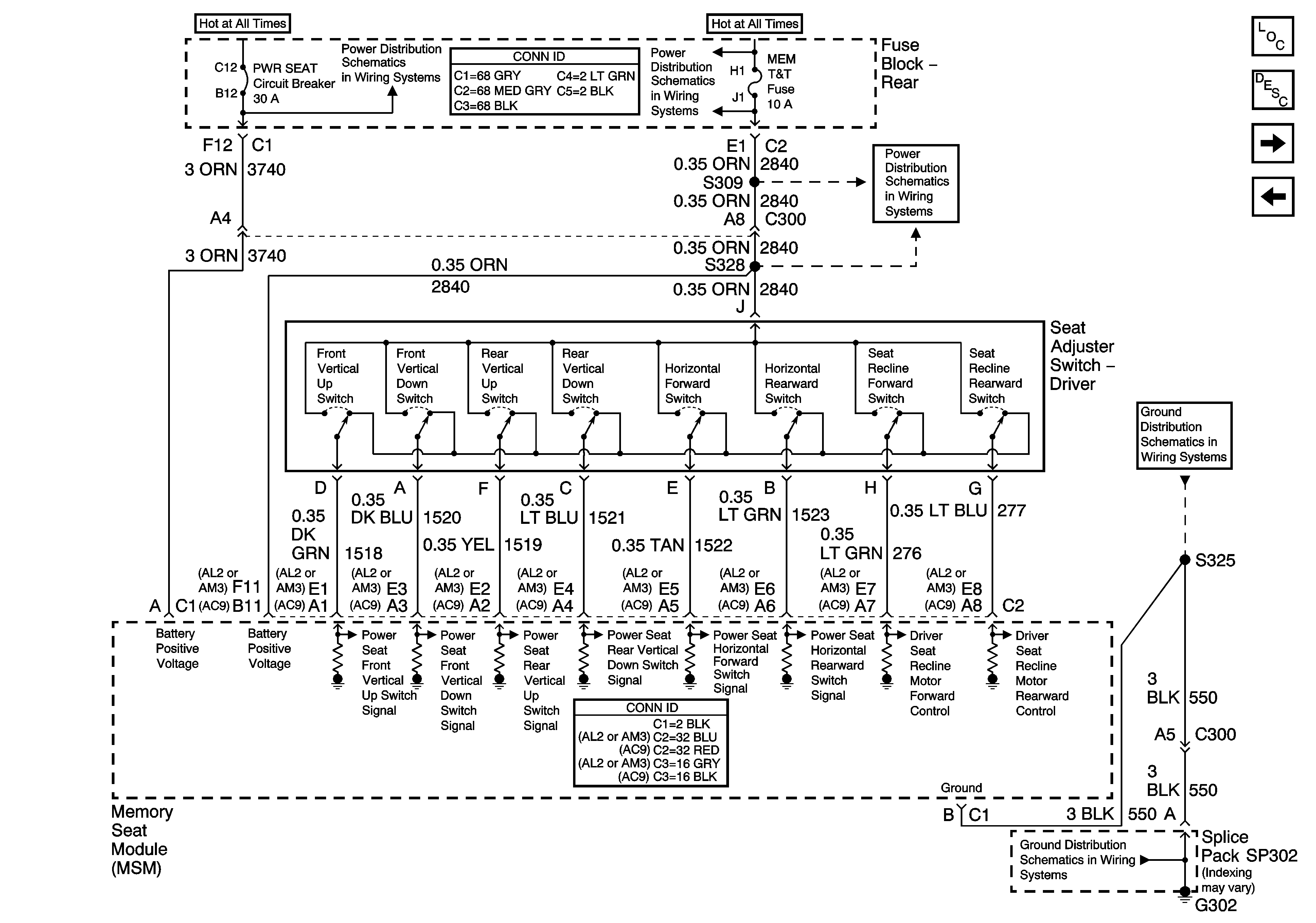
Rear Fuse Block- NAV Fuse and PWR SEAT Circuit Breaker
Rear Fuse Block- MEM TT, RRLUM/PWR ANT, HTDST LF Fuses