GM Service Manual Online
For 1990-2009 cars only
Figure 1:

Power, Ground, and Sensors


Object Number: 1413050  Size: FS
Master Electrical Component List
SIR System Description and Operation
Front and Rear Side Inflator Modules
SIR Caution for Zoning
SIR, VENT SOL, and IGN 1 Fuse and IGN 1 Relay
Class 2 Serial Data (1 of 3)
Class 2 Serial Data (2 of 3)
Seat Belt schematics
SIR Schematic Icons
SIR Schematic Icons
SIR Schematic Icons
Figure 2:

Front and Rear Side Inflator Modules


Object Number: 1386884  Size: FS
Master Electrical Component List
SIR System Description and Operation
Side Inflator Modules and Pretensioners
Power, Ground and Sensors
SIR Schematic Icons
SIR Schematic Icons
SIR Schematic Icons
SIR Schematic Icons
SIR Schematic Icons
SIR Schematic Icons
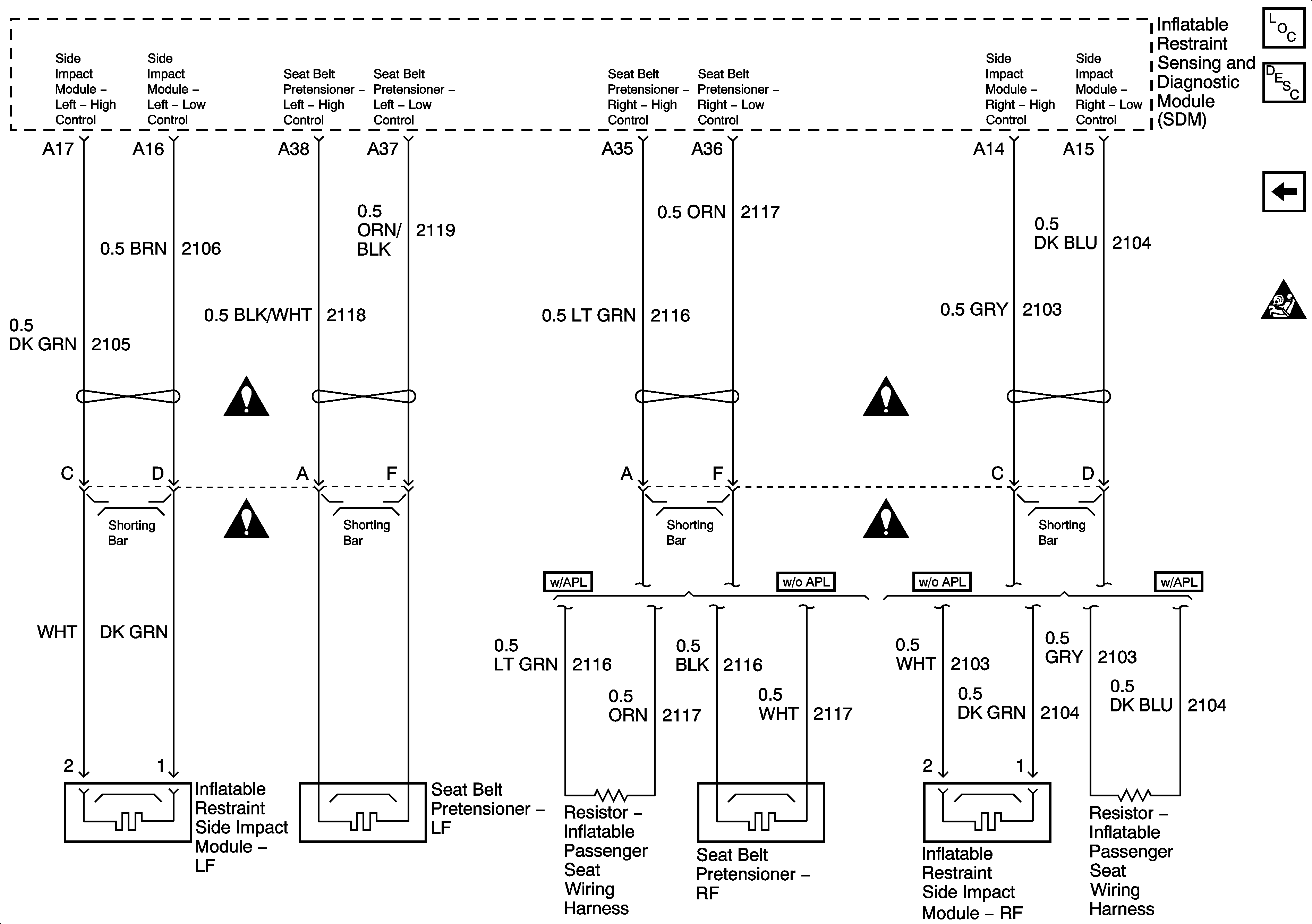
Figure 3:

Side Inflator Modules and Pretensioners


Object Number: 1413052  Size: FS
Master Electrical Component List
SIR System Description and Operation
Front and Rear Side Inflator Modules
SIR Caution for Zoning
SIR Schematic Icons
SIR Schematic Icons
SIR Schematic Icons
SIR Schematic Icons