GM Service Manual Online
For 1990-2009 cars only
Makes
🢒
Cadillac
🢒
2005
🢒
DeVille
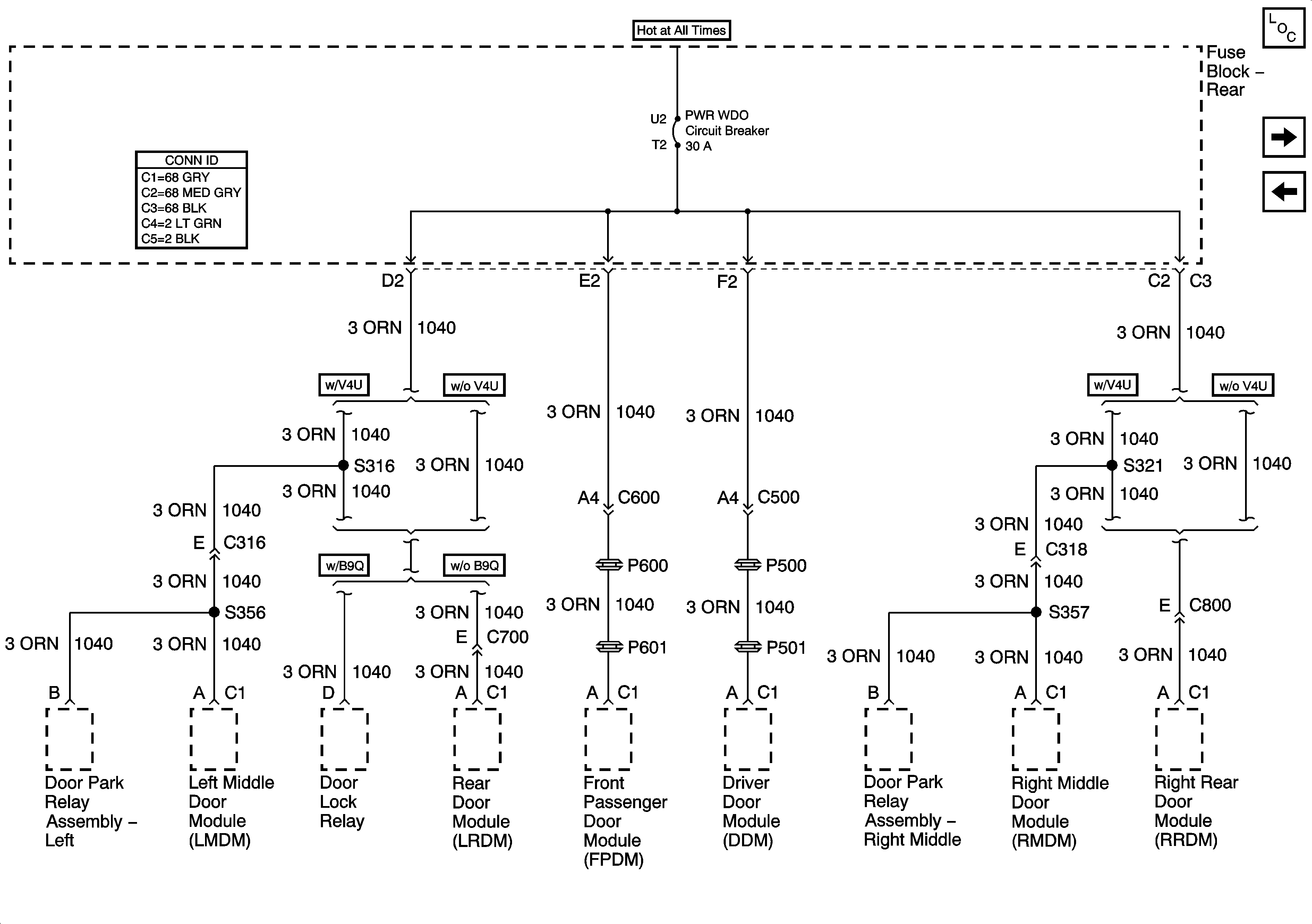
🢒 PWR WDO Circuit Breaker
PWR WDO Circuit Breaker
PWR WDO Circuit Breaker
Master Electrical Component List
NAV Fuse and PWR SEAT Circuit Breaker
AUDIO AMP and EXPORT LTG/PWR LK Fuses