GM Service Manual Online
For 1990-2009 cars only
Makes
🢒
Cadillac
🢒
2005
🢒
DeVille
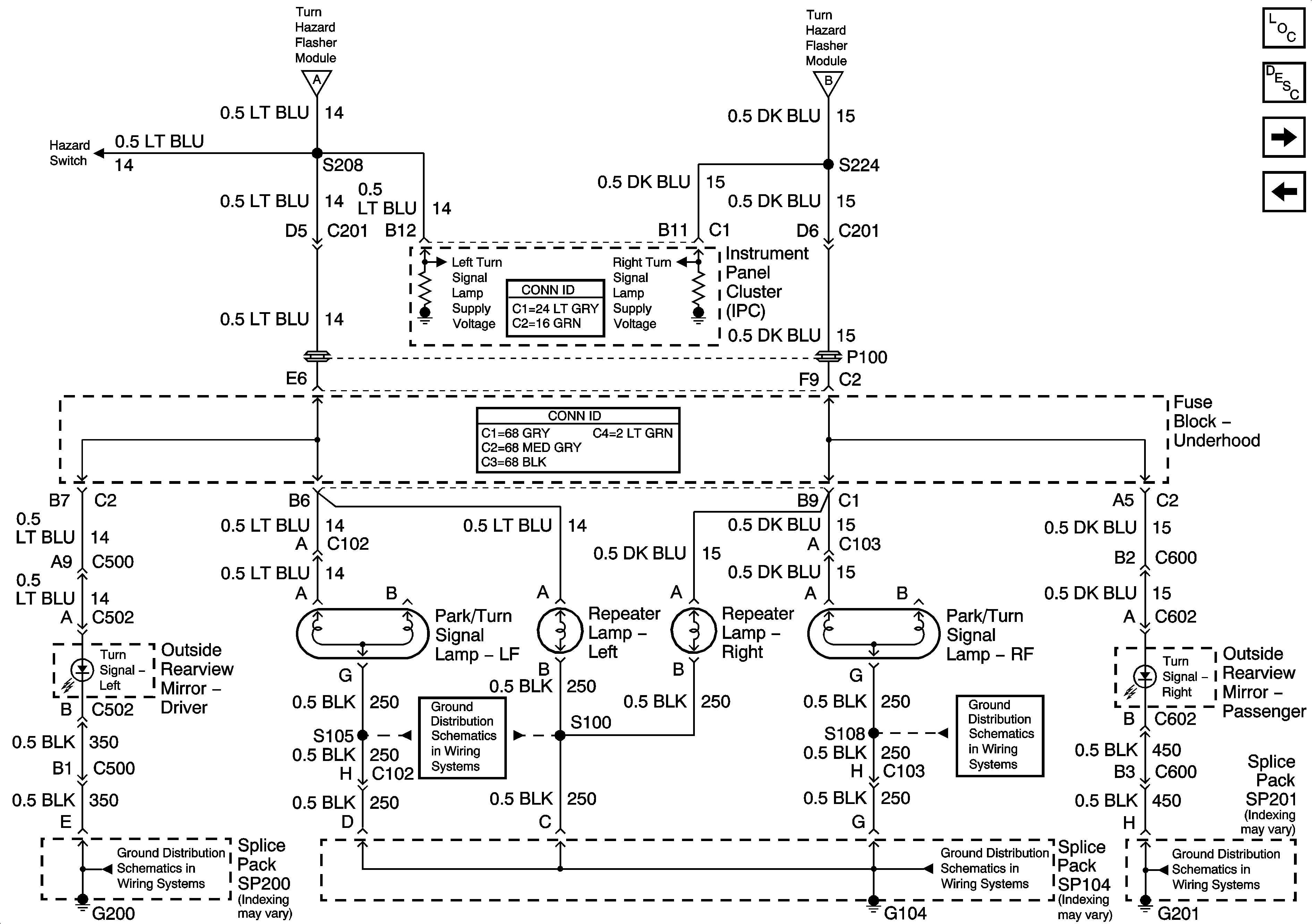
🢒 Front Park/Turn and Repeater Lamps
Front Park/Turn and Repeater Lamps
Front Park/Turn and Repeater Lamps
Master Electrical Component List
Exterior Lighting Systems Description and Operation
Standing and Position Lamp Relays
Tail Lamps
Turn Signal/Flasher Module and Hazard Switch
Turn Signal/Flasher Module and Hazard Switch
G104
G104
G200
G104
G201 - 3 of 3