GM Service Manual Online
For 1990-2009 cars only
Makes
🢒
Cadillac
🢒
2005
🢒
DeVille
🢒 Rear Power Windows
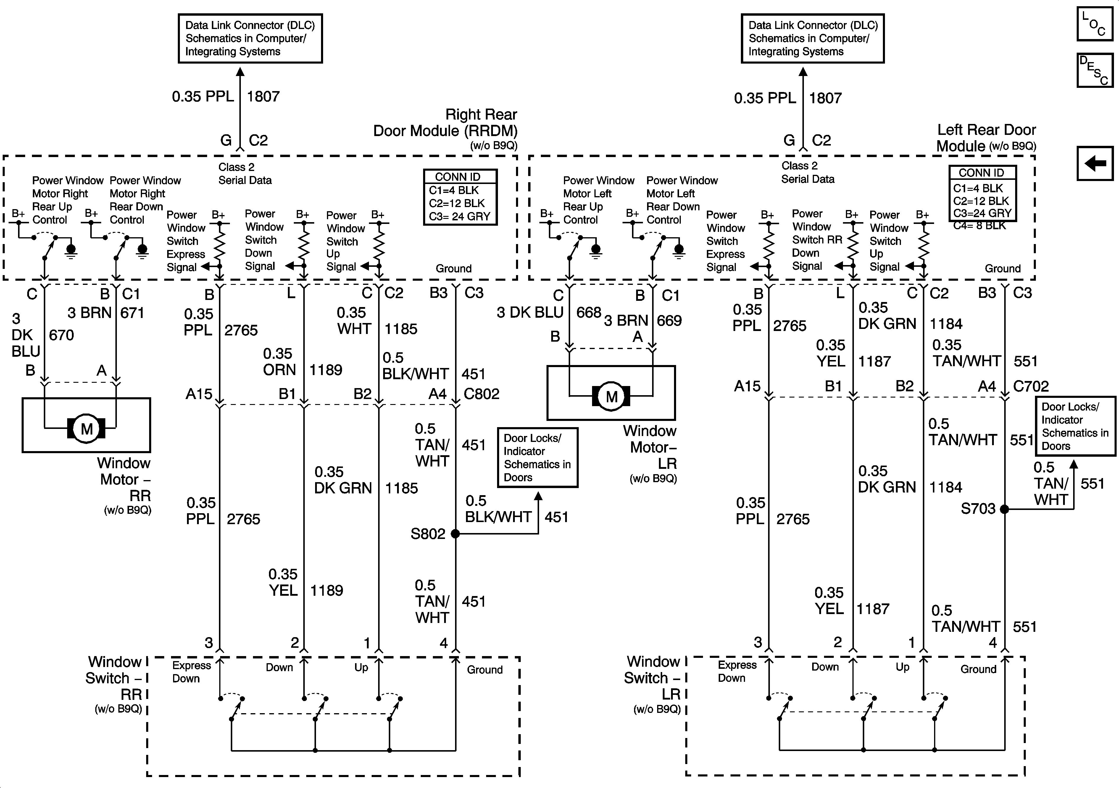
Rear Power Windows
Rear Power Windows
Master Electrical Component List
Power Windows Description and Operation
Passenger Power Window
Class 2 Serial Data (2 of 3)
Class 2 Serial Data (3 of 3)
Right Rear Door Power Door Lock (w/o B9Q)
Left Rear Door Power Door Lock