GM Service Manual Online
For 1990-2009 cars only
Makes
🢒
Cadillac
🢒
2005
🢒
DeVille
🢒 Power Seat
Power Seat
Power Seat
Master Electrical Component List
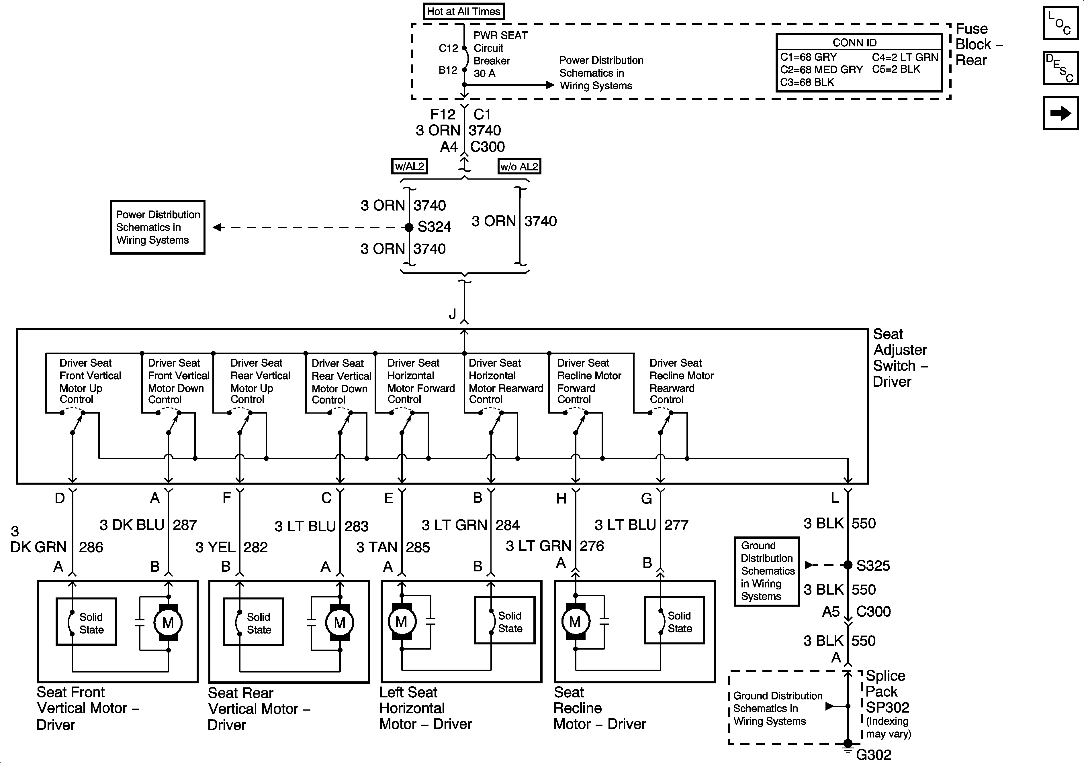
Power Seats System Description and Operation
Power Lumbar Seat
NAV Fuse and PWR SEAT Circuit Breaker
NAV Fuse and PWR SEAT Circuit Breaker
G302 - 2 of 3
G302 - 2 of 3