GM Service Manual Online
For 1990-2009 cars only

Removal Procedure

Caution: When working with any type of glass or sheet metal with exposed or rough edges, wear approved safety glasses and gloves in order to reduce the chance of personal injury.

  1. Remove the door trim panel. Refer to Rear Side Door Trim Panel Replacement .
  2. Remove the inner belt sealing strip. Refer to Inner Belt Sealing Strip Replacement .
  3. Remove the speaker. Refer to Radio Rear Side Door Speaker Replacement in Entertainment.
  4. Remove the water deflector. Refer to Door Water Deflector Replacement .

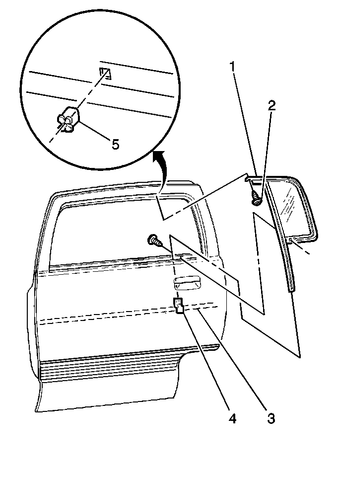
  5. Object Number: 320036  Size: MH
  6. Remove the nut (5) retaining the regulator arm to the window sash.
  7. Remove the bolt retaining the lower front run channel.
  8. Remove the window from the front lower run channel.
  9. Position the window as far forward in the door as possible.
  10. Remove the window frame run channel. Refer to Window Channel Replacement .
  11. Remove the 2 fasteners (2) retaining the stationary window (1) to the door.
  12. Important: Make sure the exterior painted surface is protected prior to the stationary window removal.

  13. Pull the stationary window (1) forward and up out of the door.

Installation Procedure


    Object Number: 320036  Size: MH
  1. Install the stationary window (1) to the door.
  2. Ensure that the stationary window (1) seats in the following positions:
  3. • Fully rearward
    • Up against the upper reveal molding

    Notice: Use the correct fastener in the correct location. Replacement fasteners must be the correct part number for that application. Fasteners requiring replacement or fasteners requiring the use of thread locking compound or sealant are identified in the service procedure. Do not use paints, lubricants, or corrosion inhibitors on fasteners or fastener joint surfaces unless specified. These coatings affect fastener torque and joint clamping force and may damage the fastener. Use the correct tightening sequence and specifications when installing fasteners in order to avoid damage to parts and systems.

  4. Install the 2 fasteners (2).
  5. Tighten
    Tighten the fasteners to 1.8 N·m (16 lb in).

  6. Install the window frame run channel. Refer to Window Channel Replacement .
  7. Position the window in the following positions:
  8. • Rearward
    • Onto the lower front run channel
  9. Install the bolt in order to retain the front lower run channel.
  10. Install the nut (5) in order to retain the regulator arm to the window sash.
  11. Adjust the door window as needed. Refer to Door Window Adjustment .
  12. Install the water deflector. Refer to Door Water Deflector Replacement .
  13. Install the speaker. Refer to Radio Rear Side Door Speaker Replacement in Entertainment.
  14. Install the inner belt sealing strip. Refer to Inner Belt Sealing Strip Replacement .
  15. Install the door trim panel. Refer to Rear Side Door Trim Panel Replacement .