GM Service Manual Online
For 1990-2009 cars only
Makes
🢒
Cadillac
🢒
2000
🢒
Eldorado
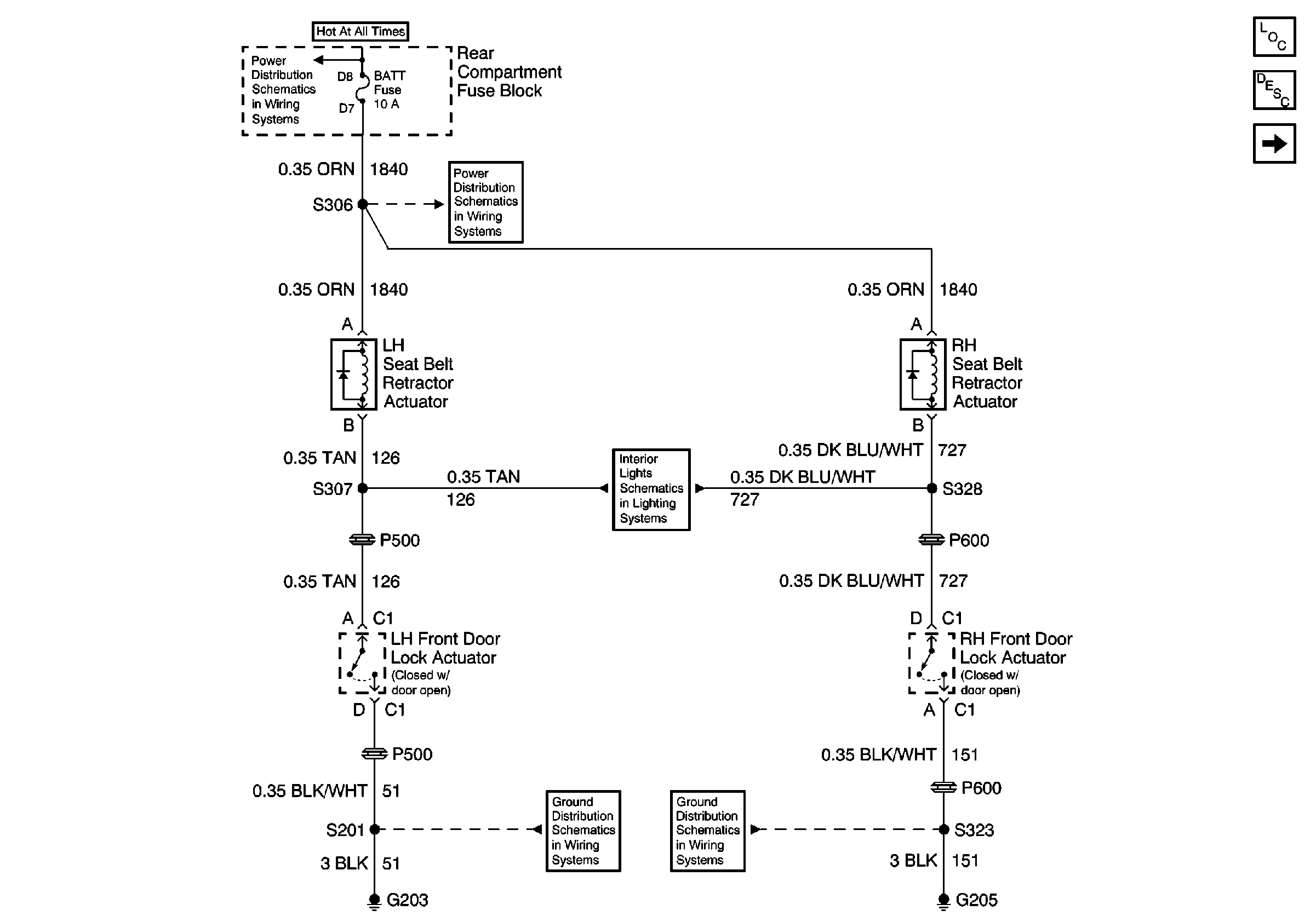
🢒 Seat Belt Retractor Actuators
Seat Belt Retractor Actuators
Seat Belt Retractor Actuators
Seat Belt Components
Seat Belt System Circuit Description
Seat Belt Switch and Seat Belt Indicator
BATT Fuse
BATT Fuse
Inputs
G203
G205