GM Service Manual Online
For 1990-2009 cars only

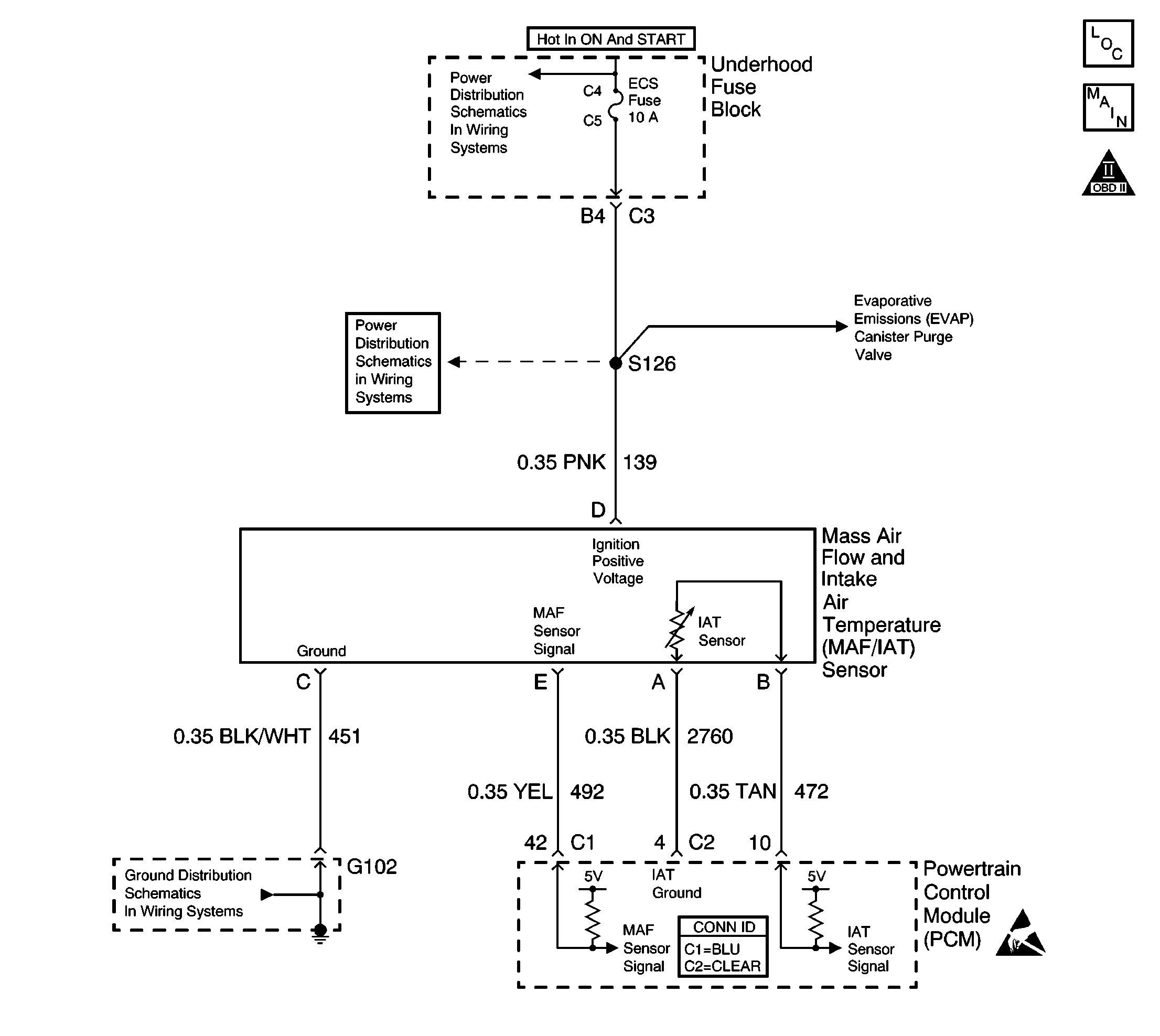
Object Number: 602227  Size: LF
Engine Controls Component Views
MAF Sensor, EVAP Components and EGR Valve
OBD II Symbol Description Notice
Handling ESD Sensitive Parts Notice

Circuit Description

The intake air temperature (IAT) sensor is a thermistor (a variable resistor) that measures the temperature of the air entering the engine. The PCM supplies 5 volts to the IAT signal circuit through a pull-up resistor. When the intake air is cold, the PCM detects a high voltage on the IAT signal circuit. As the intake air warms, the PCM detects a lower voltage on the IAT signal circuit. If the PCM detects an excessively high IAT signal voltage (low temperature indicated), DTC P0113 will set.

Conditions for Running the DTC

    • No ECT sensor, MAF sensor or VSS DTCs are set.
    • Engine has been running for at least 15 seconds.
    • Engine speed more than 50 RPM for 5 seconds.
    • Engine coolant temperature is more than 0°C (32°F).
    • Vehicle speed is less than 80 km/h (48 mph).

Conditions for Setting the DTC

    • The IAT sensor signal voltage is more than 4.8 volts (approximately -28°C (-33°F)).
    • The condition exists for less than 1 second.

Action Taken When the DTC Sets

    • The PCM illuminates the malfunction indicator lamp (MIL) during the second consecutive trip in which the diagnostic test runs and fails.
    • The PCM stores the conditions present when the DTC set as Freeze Frame/Failure Records data.

Conditions for Clearing the MIL/DTC

    • The PCM will turn the MIL OFF after the third consecutive trip in which the diagnostic runs and passes.
    • The history DTC will clear after 40 consecutive warm-up cycles have occurred without a malfunction.
    • The DTC can be cleared by using the scan tool Clear DTC Information function.

Diagnostic Aids

Check for a Skewed IAT sensor. Refer to Temperature Versus Resistance .

If the conditions is intermittent, refer to Intermittent Conditions in Symptoms.

Step

Action

Values

Yes

No

1

Did you perform the Powertrain On Board Diagnostic (OBD) System Check?

--

Go to Step 2

Go to Powertrain On Board Diagnostic (OBD) System Check

2

  1. Connect the scan tool.
  2. Turn ON the ignition, with the engine OFF.
  3. Observe the IAT sensor display.

Does the scan tool indicate an intake air temperature below the specified value?

-24°C (-11°F)

Go to Step 4

Go to Step 3

3

  1. Review and record the scan tool Fail Records data.
  2. Operate the vehicle within the Fail Records conditions.
  3. With the scan tool, monitor the Specific DTC information for DTC P0113 until the test runs.

Does the scan tool indicate that DTC P0113 failed last test?

--

Go to Step 4

Go to Diagnostic Aids

4

  1. Turn OFF the ignition.
  2. Disconnect the IAT sensor connector.
  3. Turn ON the ignition, with the engine OFF.
  4. Using DMM J 39200, measure the voltage between the IAT sensor signal and battery ground.

Does the DMM indicate a voltage near the specified value?

5V

Go to Step 5

Go to Step 10

5

  1. Install the scan tool.
  2. Connect a jumper between the IAT signal and sensor ground circuits.
  3. Observe both of the 5 volt reference displays on the scan tool.

Do both 5 volt reference displays indicate OK?

--

Go to Step 7

Go to Step 6

6

Locate and repair the short between the IAT signal circuit and 5 volt reference A, or 5 volt reference B.

Is the action complete?

--

Go to Step 15

--

7

  1. Leave the jumper connected between the IAT signal and sensor ground circuits in the harness connector.
  2. Observe the IAT sensor display on the scan tool.

Does the scan tool indicate an IAT sensor display near the specified value?

150°C (302°F)

Go to Step 8

Go to Step 9

8

  1. Test for poor connections at the IAT sensor. Refer to Testing for Intermittent Conditions and Poor Connections in Wiring Systems.
  2. If the condition is found, repair as necessary. Refer to Repairing Connector Terminals in Wiring Systems

Did you find and correct the condition?

--

Go to Step 15

Go to Step 13

9

  1. Turn OFF the ignition.
  2. Disconnect the PCM connector.
  3. Test the IAT sensor ground for an open or poor connections at the PCM. Refer to Testing for Intermittent Conditions and Poor Connections in Wiring Systems.
  4. If the condition is found, repair as necessary. Refer to Repairing Connector Terminals in Wiring Systems.

Did you find and correct the condition?

--

Go to Step 15

Go to Step 14

10

Does the DMM indicate a voltage greater than the specified value?

5V

Go to Step 11

Go to Step 12

11

  1. Turn OFF the ignition.
  2. Disconnect the PCM connector.
  3. Test the IAT sensor signal circuit for a short to voltage.
  4. If the condition is found, repair as necessary. Refer to Repairing Connector Terminals in Wiring Systems.

Did you find and correct the condition?

--

Go to Step 15

Go to Step 14

12

  1. Turn OFF the ignition.
  2. Disconnect the PCM connector.
  3. Test the IAT sensor signal circuit for an open or poor connections at the PCM. Refer to Repairing Connector Terminals in Wiring Systems.
  4. If the condition is found, repair as necessary. Refer to Repairing Connector Terminals in Wiring Systems.

Did you find and correct the condition?

--

Go to Step 15

Go to Step 14

13

Replace the IAT sensor. Refer to Mass Airflow Sensor/Intake Air Temperature Sensor Replacement .

Is the action complete?

--

Go to Step 15

--

14

Important: The replacement PCM must be programmed.

Replace the PCM. Refer to Powertrain Control Module Replacement/Programming .

Is the action complete?

--

Go to Step 12

--

15

  1. Review and record the scan tool Fail Records data.
  2. Operate the vehicle within the parameters listed in the Conditions for Running the DTC.
  3. With the scan tool, monitor the Specific DTC Information for DTC P0113 until the test runs.

Does the scan tool indicate that DTC P0113 passed?

--

System OK

Go to Step 2