GM Service Manual Online
For 1990-2009 cars only

Object Number: 602177  Size: MF
Engine Controls Component Views
Fuel Injectors
OBD II Symbol Description Notice
Handling ESD Sensitive Parts Notice

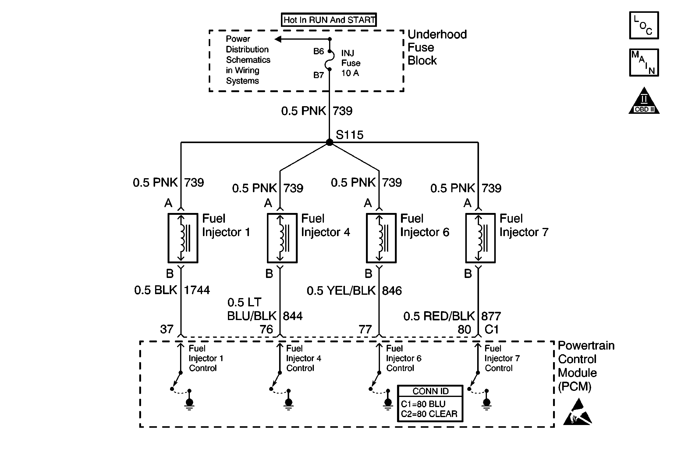
Circuit Description

The fuel injector is a solenoid operated device. The fuel injectors receive 12 volts from the ignition switch through a fuse. The PCM provides the ground path for each injector through individual driver circuits. The PCM monitors the circuits for proper voltage levels. When an improper voltage level occurs, the driver signals the PCM. If the PCM detects an improper voltage level in the fuel injector circuit for cylinder #4, DTC P0204 will set.

Conditions for Running the DTC

    • No system voltage DTCs are set.
    •  System voltage between 11-16 volts.

Conditions for Setting the DTC

The PCM detects an improper voltage level in the fuel injector circuit for cylinder #4.

Action Taken When the DTC Sets

    • The PCM will illuminate the malfunction indicator lamp (MIL) the first time the malfunction is detected.
    • The PCM will store conditions which were present when the DTC set as Freeze Frame and Fail Records data.

Conditions for Clearing the MIL/DTC

    • The PCM will turn the MIL OFF during the third consecutive trip in which the diagnostic has been run and passed.
    • The History DTC will clear after 40 consecutive warm-up cycles have occurred without a malfunction.
    • The DTC can be cleared by using the scan tool Clear DTC Information function.

Diagnostic Aids

If the condition is intermittent, refer to Intermittent Conditions in Symptoms.

Test Description

The numbers below refer to the step numbers on the diagnostic table.

  1. This step tests for voltage at the fuel injector harness connector. The INJ fuse supplies power to the coil side of the fuel injector harness connector. If the fuse is open, a short to ground on the fuel injector B+ supply circuit is indicated.

  2. This step verifies that the PCM is able to control the fuel injector. If the test lamp blinks, then the PCM and wiring are OK.

  3. This step tests if a ground is constantly being applied to the fuel injector.

Step

Action

Value(s)

Yes

No

1

Did you perform the Powertrain On-Board Diagnostic (OBD) System Check?

--

Go to Step 2

Go to Powertrain On Board Diagnostic (OBD) System Check

2

  1. Idle the engine at the normal operating temperature.
  2. With the scan tool, monitor the DTC information.

Does the scan tool indicate that this DTC failed this ignition?

--

Go to Step 4

Go to Step 3

3

  1. Review the Freeze Frame and/or Failure records data for this DTC.
  2. Turn OFF the ignition for 30 seconds.
  3. Operate the vehicle within the Conditions for running the DTC as specified in the supporting text or as close to the Freeze Frame and/or Failure records data that you observe.

Does this DTC reset?

--

Go to Step 4

Go to Intermittent Conditions

4

  1. Turn OFF the ignition.
  2. Disconnect the appropriate fuel injector harness connector.
  3. Turn On the ignition, with the engine OFF.
  4. Probe the fuel injector B+ supply circuit with a test lamp connected to a good ground.

Does the test lamp illuminate?

--

Go to Step 5

Go to Step 11

5

  1. Connect the fuel injector test lamp J 34730-2C between the control circuit and the B+ supply circuit of the fuel injector harness connector.
  2. Start the engine.

Does the test lamp blink?

--

Go to Step 9

Go to Step 6

6

Does the test lamp remain illuminated at all times?

--

Go to Step 8

Go to Step 7

7

  1. Test the fuel injector control circuit for a short to voltage or an open. Refer to Circuit Testing in Wiring Systems.
  2. If you find a condition, repair as necessary. Refer to Wiring Repairs in Wiring Systems.

Did you find and correct the condition?

--

Go to Step 14

Go to Step 10

8

  1. Test the fuel injector control circuit for a short to ground. Refer to Circuit Testing in Wiring Systems.
  2. If you find a condition, repair as necessary. Refer to Wiring Repairs in Wiring Systems.

Did you find and correct the condition?

--

Go to Step 14

Go to Step 13

9

  1. Inspect for poor connections at the fuel injector. Refer to Testing for Intermittent Conditions and Poor Connections in Wiring Systems.
  2. If you find a poor connection, repair as necessary. Refer to Repairing Connector Terminals in Wiring Systems.

Did you find and correct the condition?

--

Go to Step 14

Go to Step 12

10

  1. Inspect for poor connections at the PCM. Refer to Testing for Intermittent Conditions and Poor Connections in Wiring Systems.
  2. If you find a poor connection, repair as necessary. Refer to Repairing Connector Terminals in Wiring Systems.

Did you find and correct the condition?

--

Go to Step 14

Go to Step 13

11

Repair the fuel injector B+ supply circuit for an open or a short to ground. Refer to Wiring Repairs in Wiring Systems.

Is the action complete?

--

Go to Step 14

--

12

Replace the fuel injector. Refer to Fuel Injector Replacement .

Is the action complete?

--

Go to Step 14

--

13

Important: Program the replacement PCM. Refer to Powertrain Control Module Replacement/Programming .

Replace the PCM.

Is the action complete?

--

Go to Step 14

--

14

  1. Use a scan tool in order to clear the DTCs.
  2. Operate vehicle within the Conditions for Running the DTC as specified in the supporting text.

Does the DTC reset?

--

Go to Step 2

Go to Step 15

15

With a scan tool, review the Stored information (capture info).

Does the scan tool display any DTCs that you have not diagnosed?

--

Go to Diagnostic Trouble Code (DTC) List/Type

System OK