GM Service Manual Online
For 1990-2009 cars only

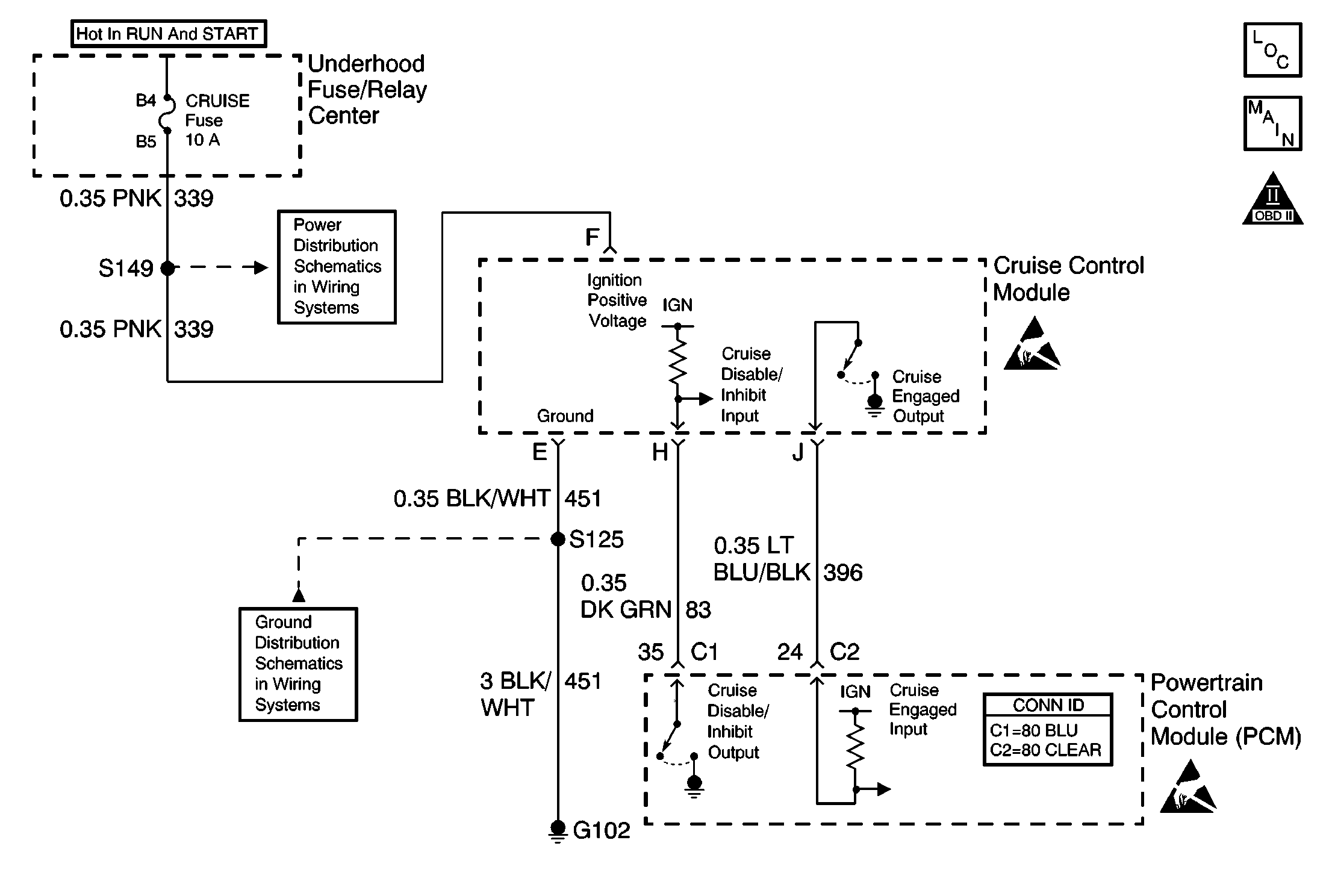
Object Number: 602231  Size: MF
Engine Controls Component Views
Vehicle Speed Output and Cruise Control Module
OBD II Symbol Description Notice
Handling ESD Sensitive Parts Notice
Handling ESD Sensitive Parts Notice

Circuit Description

The powertrain control module (PCM) uses output driver modules (ODMs) to control many functions of the engine, and the transaxle. The ODMs supply the ground path for the PCM controlled device when the PCM commands the device ON. Each ODM is able to control several outputs. The PCM monitors the ODMs for circuit conditions that are incorrect for the commanded state of the ODM. If the PCM detects an improper circuit condition in the ODM that controls the Cruise Inhibit Control Circuit, DTC P1585 will set.

Conditions for Running the DTC

    • The engine is running.
    • System voltage is between 8 and 16 volts.

Conditions for Setting the DTC

    • The PCM detects an improper voltage level on the output circuit that controls the Cruise Inhibit Control Circuit.
    • The condition exists for at least 10 seconds.

Action Taken When the DTC Sets

    • The PCM will not illuminate the malfunction indicator lamp (MIL).
    • The PCM will store the conditions present when the DTC set as Failure Records data only.

Conditions for Clearing the MIL/DTC

    • The history DTC will clear after 40 consecutive warm-up cycles have occurred without a malfunction.
    • The DTC can be cleared by using the scan tool Clear DTC Information function.

Diagnostic Aids

To determine whether an improper voltage level exists on the output circuit, the PCM compares the voltage level to the commanded state. For example, a failure condition exists if the PCM detects a low voltage level when the device is commanded OFF, or a high voltage level when the device is commanded ON.

If the condition is intermittent, refer to Intermittent Conditions in Symptoms.

Test Description

The numbers below refer to the step numbers on the diagnostic table.

  1. Normally, ignition feed voltage should be present on the control circuit with the PCM disconnected and the ignition turned ON.

  2. Tests for a short to voltage on the control circuit.

Step

Action

Value(s)

Yes

No

1

Did you perform the Powertrain On Board Diagnostic (OBD) System Check ?

--

Go to Step 2

Go to Powertrain On Board Diagnostic (OBD) System Check

2

  1. Turn OFF the ignition.
  2. Disconnect the PCM connector. Refer to Powertrain Control Module Replacement/Programming .
  3. Turn ON the ignition, with the engine OFF.
  4. Measure the voltage between the cruise inhibit control circuit and to a good ground.

Does the voltage measure near the specified value?

B+

Go to Step  3

Go to Step  4

3

  1. Turn OFF the ignition.
  2. Disconnect the cruise control module connector.
  3. Turn ON the ignition, with the engine OFF.
  4. Probe the cruise inhibit control circuit with a test lamp that is connected to a good ground.

Does the test lamp illuminate?

--

Go to Step  7

Go to Step  5

4

Test the cruise inhibit control circuit for an open or short to ground. Refer to Wiring Repairs and Circuit Testing in Wiring Systems.

Did you find and correct the condition?

--

Go to Step  10

Go to Step  6

5

Inspect for poor connections at the harness connector of the PCM. Refer to Testing for Intermittent Conditions and Poor Connections and Connector Repairs in Wiring Systems.

Did you find and correct the condition?

--

Go to Step  10

Go to Step  8

6

Inspect for poor connections at the harness connector of the cruise control module. Refer to Testing for Intermittent Conditions and Poor Connections and Connector Repairs in Wiring Systems.

Did you find and correct the condition?

--

Go to Step 10

Go to Step  9

7

Repair the short to voltage in the cruise inhibit control circuit. Refer to Wiring Repairs in Wiring Systems.

Did you complete the repair?

--

Go to Step  10

--

8

Important: The replacement PCM must be programmed.

Replace the PCM. Refer to Powertrain Control Module Replacement/Programming .

Did you complete the replacement?

--

Go to Step  10

--

9

Replace the cruise control module. Refer to Cruise Control Module Replacement in Cruise Control.

Did you complete the replacement?

--

Go to Step  10

--

10

  1. Use the scan tool in order to clear the DTCs.
  2. Operate the vehicle within normal cruise control operating conditions.

Does the scan tool indicate that the DTC passed?

--

System OK

Go to Step  2