GM Service Manual Online
For 1990-2009 cars only

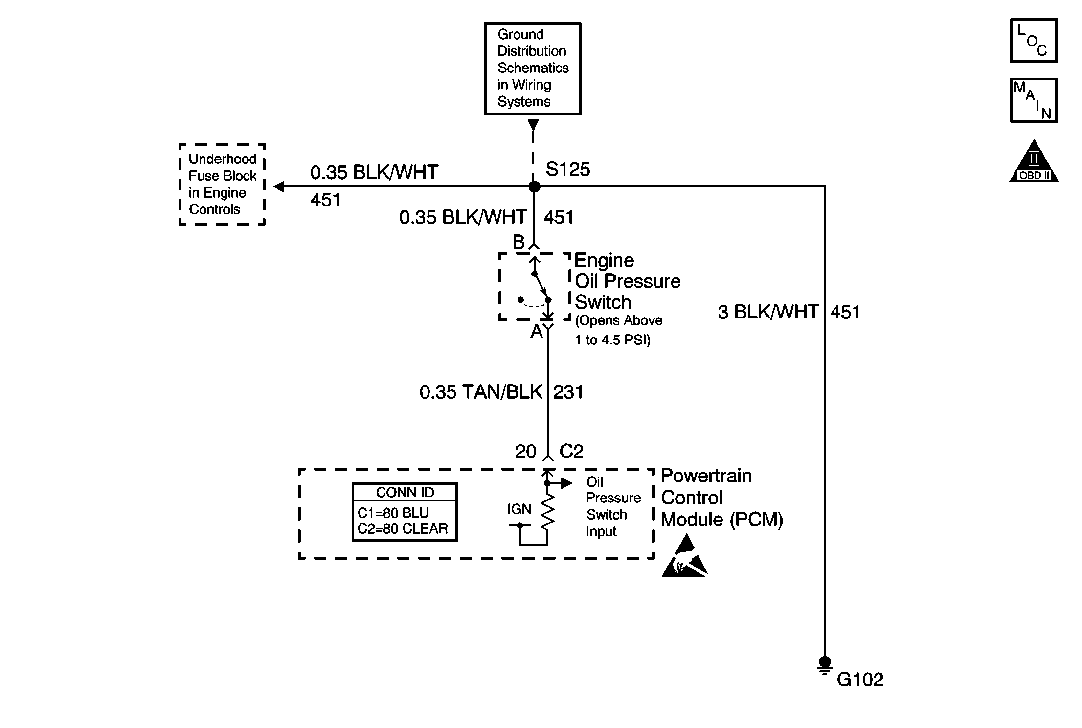
Object Number: 602171  Size: MF
Engine Controls Component Views
Fuel Pump and Relay
OBD II Symbol Description Notice
Handling ESD Sensitive Parts Notice

Circuit Description

The engine oil pressure switch is a normally closed switch that opens with the proper oil pressure. The powertrain control module (PCM) applies ignition voltage to the oil pressure signal circuit through a pull-up resistor. With the ignition switch turned ON, and the engine not running, the PCM should detect a low signal voltage input. With the engine running, the pressure switch opens, and the PCM should detect a high signal voltage input. The PCM tests the state of the engine oil pressure circuit with the ignition switch turned ON, and the engine turned OFF. If the PCM detects a high voltage input on the engine oil pressure signal circuit, DTC P1189 will set.

Conditions for Running the DTC

    • No ECT, or Starter Request DTCs are set.
    • The PCM has not received the CRANK Request (ignition switch in the crank position) for this ignition cycle.
    • Engine coolant temperature at the last key OFF was greater than 80°C (176°F).
    • Engine coolant temperature at the current key ON is 10°C (18°F) cooler than the engine coolant temperature at the last key OFF.
        OR
        The amount of time between last key OFF and current key ON is greater than 4 minutes.

Conditions for Setting the DTC

    • The PCM detects a high voltage input on the engine oil pressure signal circuit.
    • The condition exists for at least 5 seconds.

Action Taken When the DTC Sets

    • The PCM will not illuminate the malfunction indicator lamp (MIL).
    • The PCM will store conditions which were present when the DTC set as Fail Records data only. The information will not be stored as Freeze Frame data.

Conditions for Clearing the MIL/DTC

    • A History DTC will clear after 40 consecutive warm-up cycles have occurred without a malfunction.
    • The DTC can be cleared by using the scan tool Clear DTC Information function.

Diagnostic Aids

If the condition is intermittent, refer to Intermittent Conditions in Symptoms.

Test Description

The numbers below refer to the step numbers on the diagnostic table.

  1. This vehicle is equipped with a PCM which utilizes an electrically erasable programmable read only memory (EEPROM). When the PCM is replaced, the new PCM must be programmed.

Step

Action

Value(s)

Yes

No

1

Did you perform the Powertrain On Board Diagnostic (OBD) System Check?

--

Go to Step 2

Go to Powertrain On Board Diagnostic (OBD) System Check

2

Important: Do not turn the key to the crank position or engage the starter at any time during diagnosis.

  1. Turn ON the ignition, with the engine OFF.
  2. Connect the scan tool.
  3. View the engine oil pressure display.

Does the scan tool indicate engine oil pressure OK?

--

Go to Step 3

Go to Diagnostic Aids

3

  1. Disconnect the engine oil pressure switch connector.
  2. Jumper the engine oil pressure switch signal circuit to a good ground.
  3. Observe the engine oil pressure display on the scan tool.

Does the scan tool indicate low oil pressure?

--

Go to Step 4

Go to Step 5

4

  1. Test the engine oil pressure signal circuit for an open or a short to ground.
  2. If a condition is found, repair as necessary. Refer to Wiring Repairs in Wiring Systems.

Did you find and correct the condition?

--

Go to Step 8

Go to Step 7

5

Test the engine oil pressure switch ground circuit for an open. Refer to Circuit Testing and Wiring Repairs in Wiring Systems.

Did you find and correct the condition?

--

Go to Step 8

Go to Step 6

6

Replace the engine oil pressure switch.

Is the action complete?

--

Go to Step 8

--

7

Important: The replacement PCM must be programmed.

Replace the PCM. Refer to Powertrain Control Module Replacement/Programming .

Is the action complete?

--

Go to Step 8

--

8

    Important: The following criteria must be met before continuing with the repair verification:

       • The ECT at the last key OFF must be greater than 80°C (176°F).
       • The ECT at the current key ON must be at least 10°C (50°F) cooler than the ECT at the last key OFF.
       • The amount of time between the last key OFF and the current key ON must be at least 4 minutes.

  1. Review and record the scan tool Fail Records data.
  2. Clear the DTCs
  3. Operate the vehicle within the parameters listed in the Conditions for Running the DTC.
  4. Turn OFF the ignition.
  5. Important: Do not turn the key to the crank position or engage the starter at any time during the repair verification.

  6. Turn ON the ignition, with the engine OFF.
  7. With the scan tool, monitor the Specific DTC Information for DTC P1189.

Does the scan tool indicate that DTC P1189 passed?

--

System OK

Go to Step 2