GM Service Manual Online
For 1990-2009 cars only

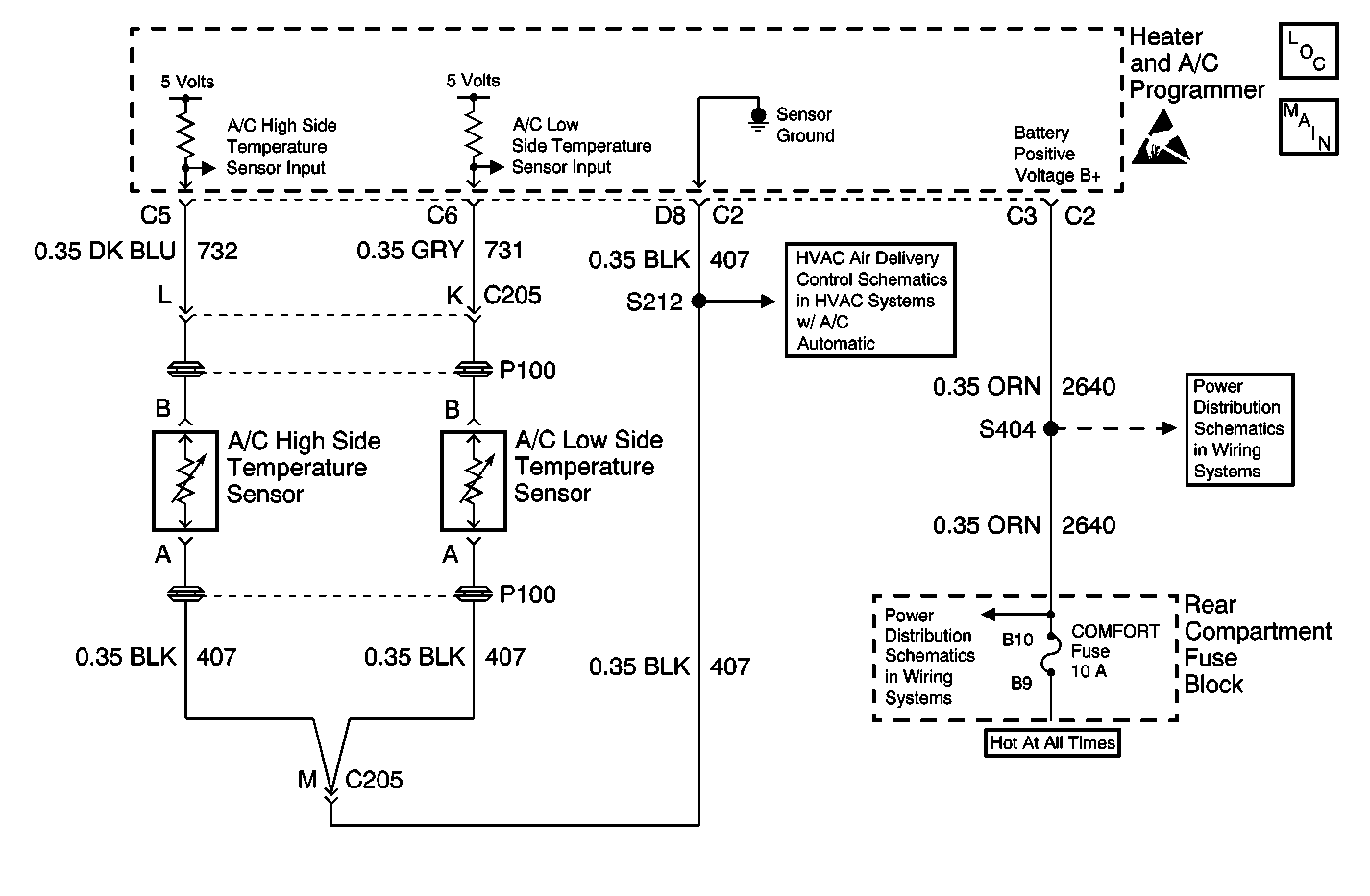
Object Number: 594918  Size: MF
HVAC Components
Pressure Switches
Handling ESD Sensitive Parts Notice
Temperature Sensors
ANTENNA, RSS, HTD MIR, and HTD BACKLT Fuses
ANTENNA, RSS, HTD MIR, and HTD BACKLT Fuses

Circuit Description

In the process of controlling the compressor clutch, the heater and A/C programmer monitors certain inputs for an indication of a low refrigerant charge. If the system refrigerant state of charge falls below approximately 1/4 capacity, the heater and A/C programmer is capable of detecting this condition. The programmer will display VERY LOW REFRIGERANT--A/C COMPRESSOR OFF on the driver information center (DIC) in order to warn the operator.

The heater and A/C programmer determines the state of the charge by monitoring the temperature change in the low temperature sensor during the compressor engagement. This temperature drop is referenced by the heater and A/C programmer as a function of the ambient air temperature. If the refrigerant charge is too low, the refrigerant boils instantaneously after passing through the orifice tube. This action creates a large rapid change in the low temperature sensor reading. After several incidents are counted, the heater and A/C programmer sets DTC B1347. The message VERY LOW REFRIGERANT--A/C COMPRESSOR OFF will be displayed on the DIC. If a DTC B1347 is set, the compressor clutch disengages and remains disengaged until DTC B1347 is cleared. DTC B1347 may repeat if excessive pressure exists in the A/C charging station tank. Repair the A/C charging station before properly diagnosing DTC B1347.

Failure Conditions

The low side refrigerant temperature drops too quickly during several of the compressor cycles.

Action Taken When the DTC Sets

    • The system disables the A/C compressor until the DTC is cleared.
    • The system displays the VERY LOW REFRIGERANT--A/C COMPRESSOR OFF message on the DIC.

Test Description

  1. Perform the HVAC Diagnostic System Check before continuing with the diagnosis of this DTC.

  2. This test inspects for an intermittent open or short in the A/C Low Side Temp Sensor circuit.

  3. This test verifies that the sensor is receiving the reference voltage.

Step

Action

Value(s)

Yes

No

1

Did you perform the HVAC diagnostic system check?

--

Go to Step 2

Go to Diagnostic System Check

2

  1. Ensure that the ambient temperature display is above 42°F (24.2°C).
  2. Inspect the refrigerant system for leaks.
  3. Connect a Scan Tool.
  4. Turn ON the ignition, with the engine OFF
  5. With a scan tool, observe the Temperature Status parameter in the heater and A/C Programmer Information data list.

Does the scan tool indicate the temperature status is okay?

--

Go to Testing for Intermittent Conditions and Poor Connections in Wiring Systems

Go to Step 3

3

  1. Turn OFF the ignition.
  2. Disconnect the A/C low side temperature sensor.
  3. Turn ON the ignition, with the engine OFF.
  4. Measure the voltage from the A/C low side temperature sensor signal circuit to a good ground.

Does the voltage measure near the specified value?

5 V

Go to Step 4

Go to Step 5

4

Measure the voltage from the A/C low side temperature sensor signal circuit to the A/C low side temperature sensor ground circuit.

Does the voltage measure near the specified value?

5 V

Go to Step 7

Go to Step  6

5

Test the signal circuit of the A/C low side temperature sensor. For a short or an open. Refer to Testing for Intermittent Conditions and Poor Connections and Connector Repairs in Wiring Systems.

Did you find and correct the condition?

--

Go to Step 11

Go to Step  8

6

Test the ground circuit of the A/C low side temperature sensor for a high resistance or an open. Refer to Circuit Testing and Wiring Repairs in Wiring Systems.

Did you find and correct the condition?

--

Go to Step 11

Go to Step  8

7

Inspect for poor connections at the harness connector of the A/C low side temperature sensor. Refer to Testing for Intermittent Conditions and Poor Connections and Connector Repairs in Wiring Systems.

Did you find and correct the condition?

--

Go to Step 11

Go to Step  9

8

Inspect for poor connections at the harness connector of the heater and A/C programmer. Refer to Testing for Intermittent Conditions and Poor Connections and Connector Repairs in Wiring Systems.

Did you find and correct the repair?

--

Go to Step  11

Go to Step  10

9

Replace the A/C low side temperature sensor. Refer to Temperature Sensor Replacement - Low Side .

Did you complete the repair?

--

Go t o Step  11

--

10

Replace the heater and A/C programmer. Refer to Programmer Replacement .

Did you complete the repair?

--

Go to Step  11

--

11

  1. Use the scan tool in order to clear the DTCs.
  2. Operate the vehicle within the Conditions for Running the DTC as specified in the supporting text.

Does the DTC reset?

--

Go to Step  2

System OK