GM Service Manual Online
For 1990-2009 cars only

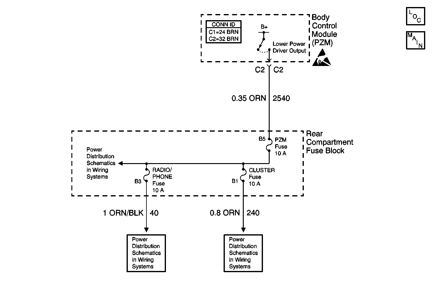
Object Number: 593989  Size: MF
Body Control Module Components
Body Control Module Inputs and Outputs (2 of 4)
Handling ESD Sensitive Parts Notice
BODY 3 and INADVERT Fuses
RADIO/PHONE Fuse
WIPERS, ACC, and CLUSTER Fuses

Circuit Description

The systems under controlled power are supplied voltage through the controlled power relay. The high power control output is grounded whenever the body control module (PZM) is awake, and for 15 minutes after the ignition switch is turned to the LOCK position. After 15 minutes elapse, the low power driver output turns ON. The low power driver output can supply up to 2 AMP for up to 3 days. If the PZM detects that more than 2 AMP are needed, the PZM wakes up and turns ON the high power control output.

The PZM measures the voltage at the low power driver output every 300 ms while the PZM is in low power mode.

Conditions for Setting the DTC

The low power driver output (CKT 2540) is grounded after 2 consecutive monitoring cycles.

Action Taken When the DTC Sets

The PZM turns the controlled power output OFF until the state of the ignition changes or the PZM wakes up.

Conditions for Clearing the DTC

    • The ignition state changes or the PZM wakes up and the condition is no longer present. DTC B1972 changes to history.
    • A history code clears after 50 consecutive ignition cycles if the condition is not longer present.

Step

Action

Value(s)

Yes

No

1

Was the Body Control Module Diagnostic System Check performed.

--

Go to Step 2

Go to Diagnostic System Check - Body Control System

2

  1. Turn the ignition to the OFF position.
  2. Disconnect the PZM.
  3. Remove the PZM fuse.
  4. Measure the resistance from the PZM connector C2 terminal C2 to ground.

Is the resistance less than the specified value?

5 ohms

Go to Step 3

Go to Step 4

3

Repair the short to ground in CKT 2540 (ORN).

Is the repair complete?

--

Go to Diagnostic System Check - Body Control System

--

4

Replace the PZM. Refer to Body Control Module Replacement .

Is the repair complete?

--

Go to Diagnostic System Check - Body Control System

--