GM Service Manual Online
For 1990-2009 cars only

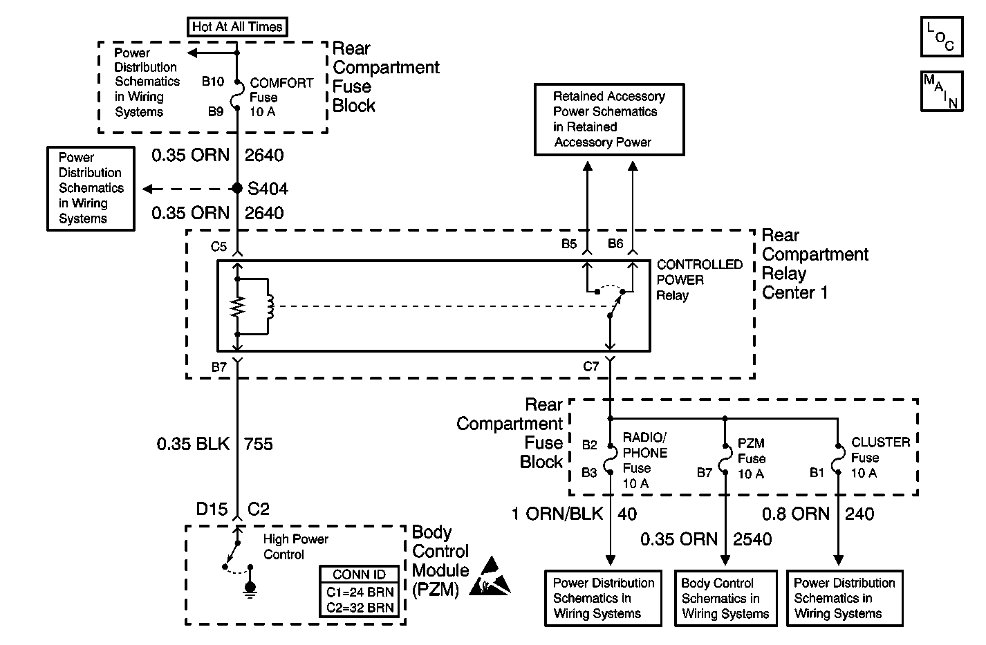
Object Number: 593991  Size: MF
BODY 3 and INADVERT Fuses
COMFORT Fuse
Power and Ground Circuits
RADIO/PHONE Fuse
Body Control Module Inputs and Outputs (2 of 4)
WIPERS, ACC, and CLUSTER Fuses
Handling ESD Sensitive Parts Notice
Body Control Module Components
Body Control Module Inputs and Outputs (2 of 4)

Circuit Description

The systems under controlled power are supplied voltage through the controlled power relay. The controlled power relay is grounded whenever the body control module (PZM) is awake, and for 15 minutes after the ignition switch is turned to the LOCK position. After 15 minutes elapse, the low power driver output turns ON and the controlled power relay is turned OFF. The low power driver output supplies up to 2 amps of current, for up to 3 days. If the PZM detects that more than 2 amps are needed, the PZM wakes up and turns ON the controlled power relay.

Conditions for Setting the DTC

The PZM determines that a short to battery positive voltage is present on CKT 755 (BLK).

Action Taken When the DTC Sets

The PZM turns off the low power output if the ignition is in one of the following positions:

    • LOCK
    • OFF
    • ACC

Conditions for Clearing the DTC

    • The PZM does not detect the conditions for one monitoring cycle. The DTC is changed to history.
    • A history code clears after 50 consecutive ignition cycles if the condition is no longer present.

Step

Action

Value(s)

Yes

No

1

Was the Body Control Module Diagnostic System Check performed?

--

Go to Step 2

Go to Diagnostic System Check - Body Control System

2

  1. Disconnect the PZM.
  2. Disconnect the controlled power relay.
  3. Measure the voltage from the controlled power relay connector terminal B7 to ground.

Is battery positive (B+) voltage present?

--

Go to Step 4

Go to Step 3

3

Replace the PZM. Refer to Body Control Module Replacement .

Is the repair complete?

--

Go to Diagnostic System Check - Body Control System

--

4

Repair the short to battery positive (B+) voltage in CKT 755 (BLK).

Is the repair complete?

--

Go to Diagnostic System Check - Body Control System

--