GM Service Manual Online
For 1990-2009 cars only
Makes
🢒
Cadillac
🢒
2001
🢒
Eldorado
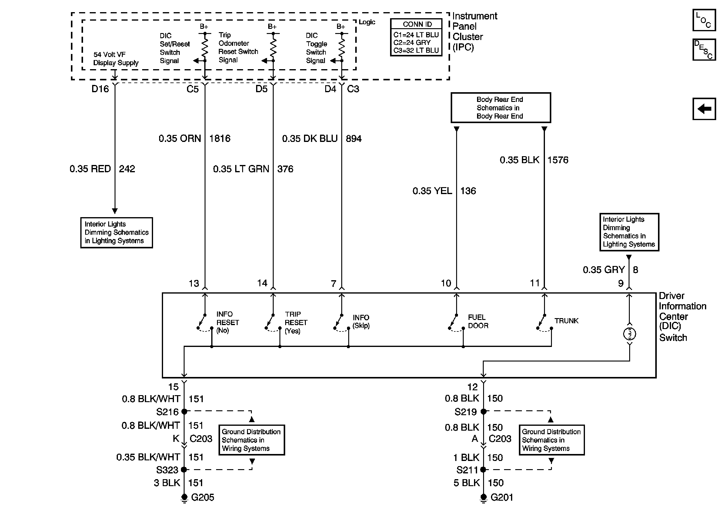
🢒 DIC Signals
DIC Signals
DIC Signals
Master Electrical Component List
Inputs (2 of 2)
Release Systems
Instrument Panel Backlighting
Instrument Panel Backlighting
G205
G201