GM Service Manual Online
For 1990-2009 cars only
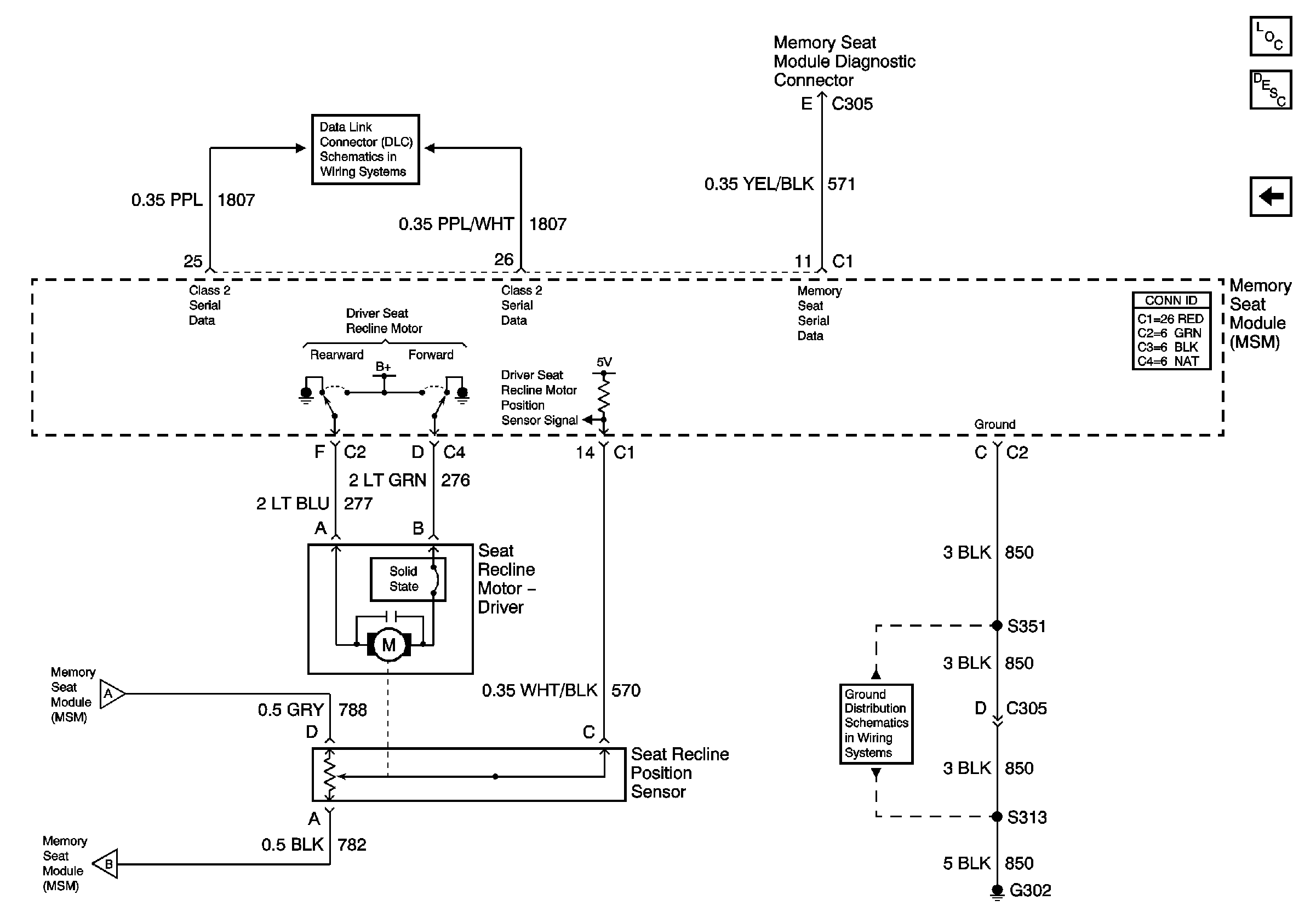
Figure 1:

Driver Seat Switch


Object Number: 716270  Size: FS
Master Electrical Component List
Memory Seats Description and Operation
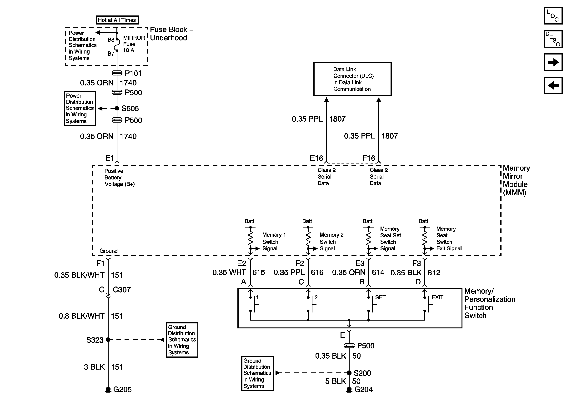
Memory Function Switch
G302 (1 of 2)
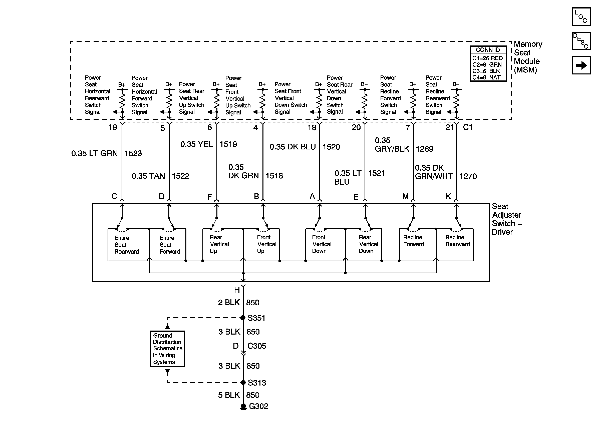
Figure 2:

Memory Function Switch


Object Number: 728442  Size: FS
Master Electrical Component List
Memory Seats Description and Operation
Driver Seat Vertical and Horizontal Sensors and Motors
Driver Seat Switch
LAMPS and IGN 1 Fuses
G204
G205
Power, Ground, and Class 2 (2 of 2)
MIRROR, DRL, and FOG Fuses
Figure 3:

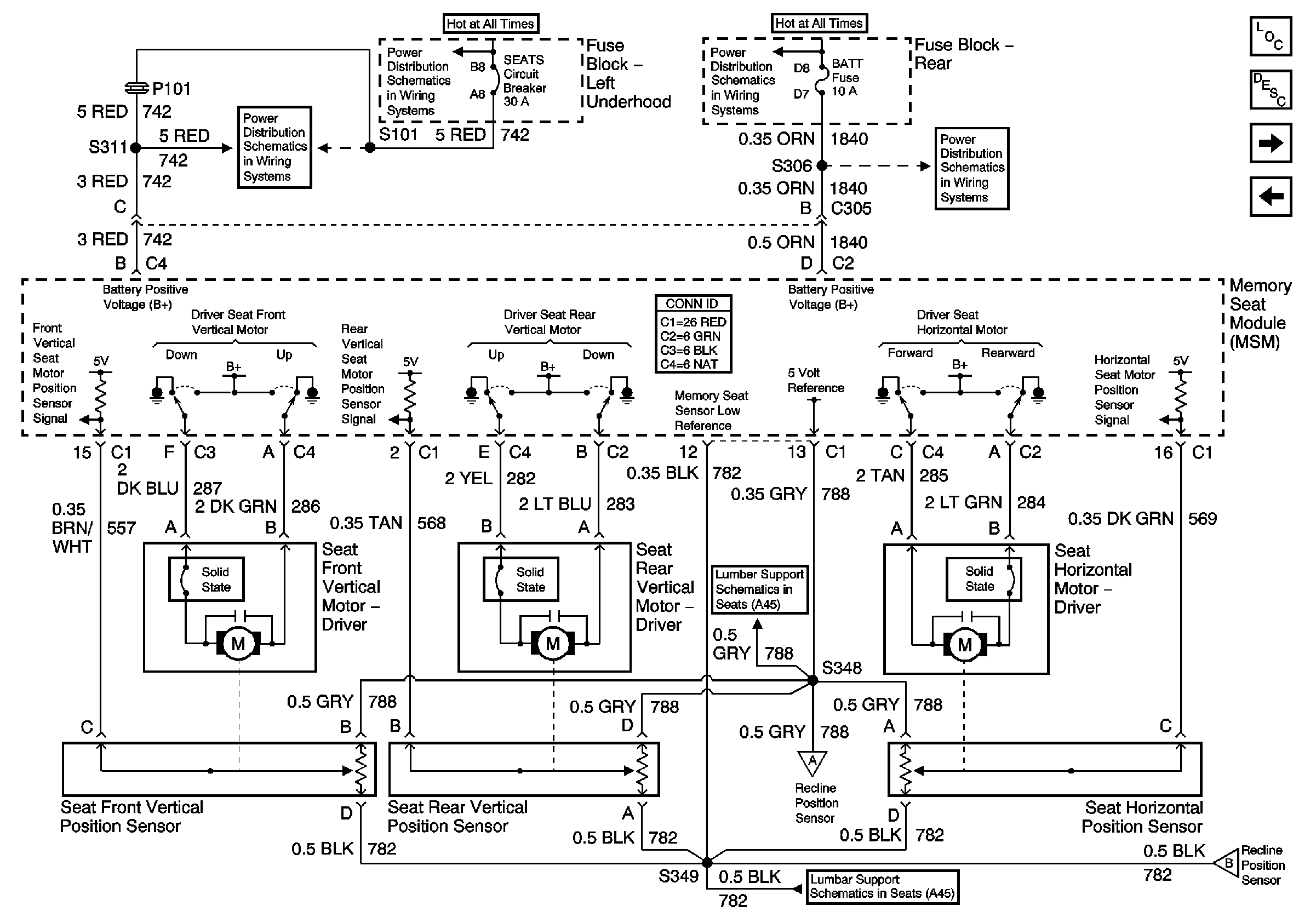
Driver Seat Vertical and Horizontal Sensors and Motors


Object Number: 716273  Size: FS
Master Electrical Component List
Memory Seats Description and Operation
Memory Seat Module, Seat Recline Position Sensor and Driver Seat Recline Motor
Memory Function Switch
Memory Seat Module, Seat Recline Position Sensor and Driver Seat Recline Motor
Driver Power Lumbar w/AL2 and A45
Memory Seat Module, Seat Recline Position Sensor and Driver Seat Recline Motor
Driver Power Lumbar w/AL2 and A45
Battery Feeds
SEATS Circuit Breaker
BODY 1 Fuse
BATT Fuse
Figure 4:

Memory Seat Module, Seat Recline Position Sensor and Driver Seat Recline Motor


Object Number: 716282  Size: FS
Master Electrical Component List
Memory Seats Description and Operation
Driver Seat Vertical and Horizontal Sensors and Motors
Driver Seat Vertical and Horizontal Sensors and Motors
Driver Seat Vertical and Horizontal Sensors and Motors
G302 (1 of 2)
Power, Ground, and Class 2 (2 of 2)