GM Service Manual Online
For 1990-2009 cars only
Makes
🢒
Cadillac
🢒
2002
🢒
Eldorado
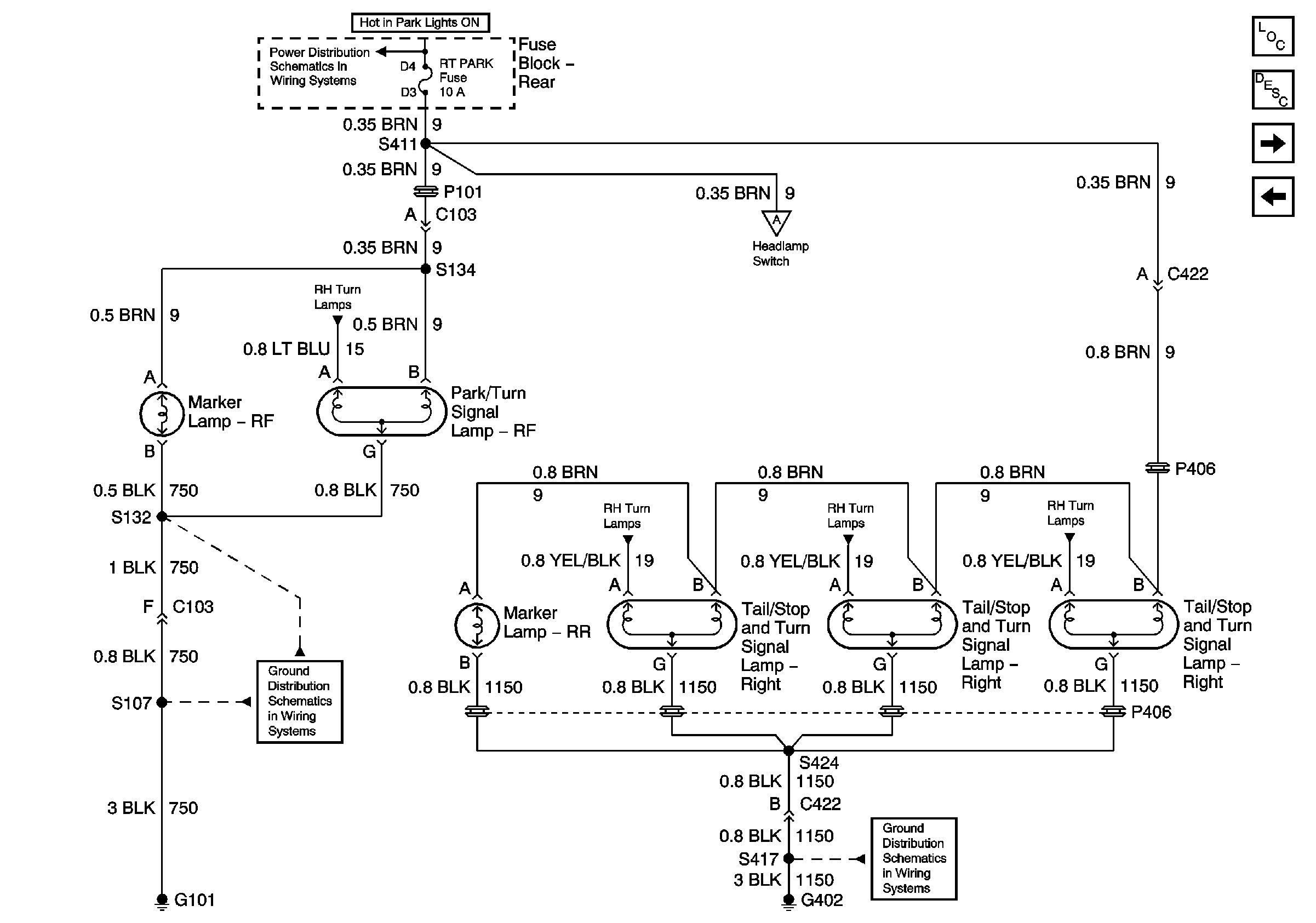
🢒 RH Park Lamps
RH Park Lamps
RH Park Lamps
Master Electrical Component List
Exterior Lighting Systems Description and Operation
Turn Signal Flasher Module, Hazard Flasher, and Stoplamp/AT Shift Lock Control Switch
LH Park Lamps
G402
G101
BODY 1 Fuse
Headlamp Switch and Park Lamp Control