GM Service Manual Online
For 1990-2009 cars only
Makes
🢒
Cadillac
🢒
2002
🢒
Eldorado
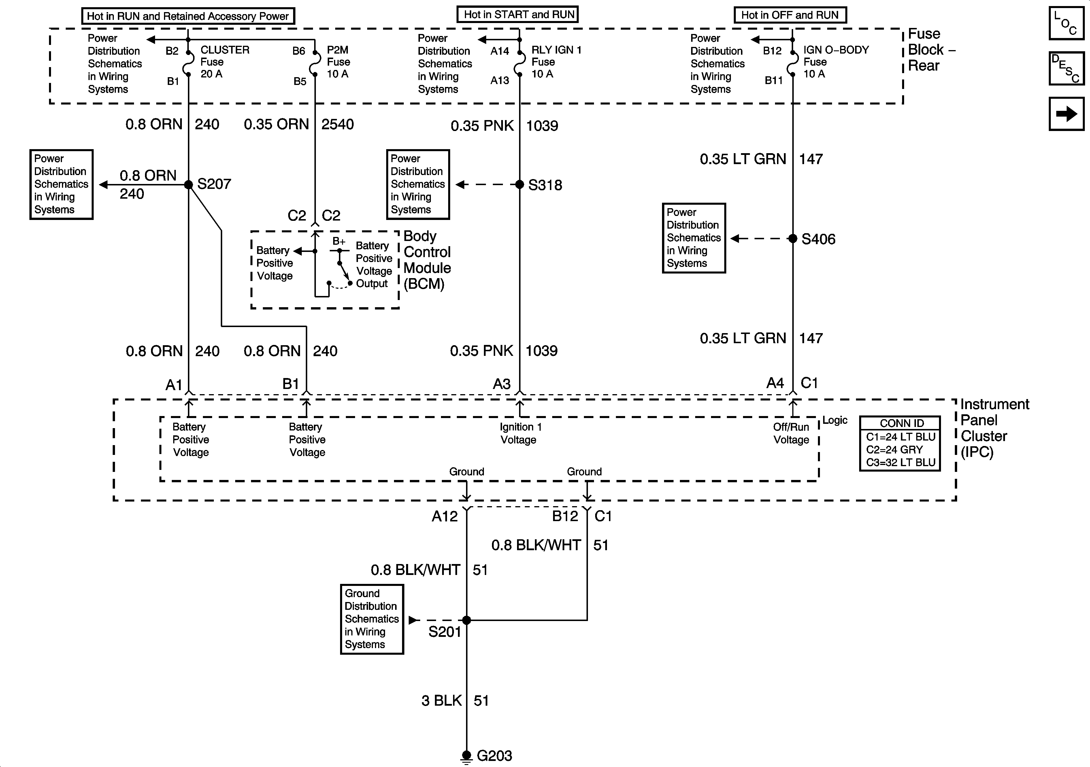
🢒 Powers and Grounds
Powers and Grounds
Powers and Grounds
Master Electrical Component List
Instrument Cluster Description and Operation
Gages and MIL
BODY 3 and INADVERT Fuses
LAMPS and IGN 1 Fuses
BATT 3 and Ignition Switch (1 of 2)
WIPERS, ACC, and CLUSTER Fuses
RLY IGN 1 Fuse
IGN 0 BODY Fuse
G203