GM Service Manual Online
For 1990-2009 cars only
Makes
🢒
Cadillac
🢒
2000
🢒
Escalade
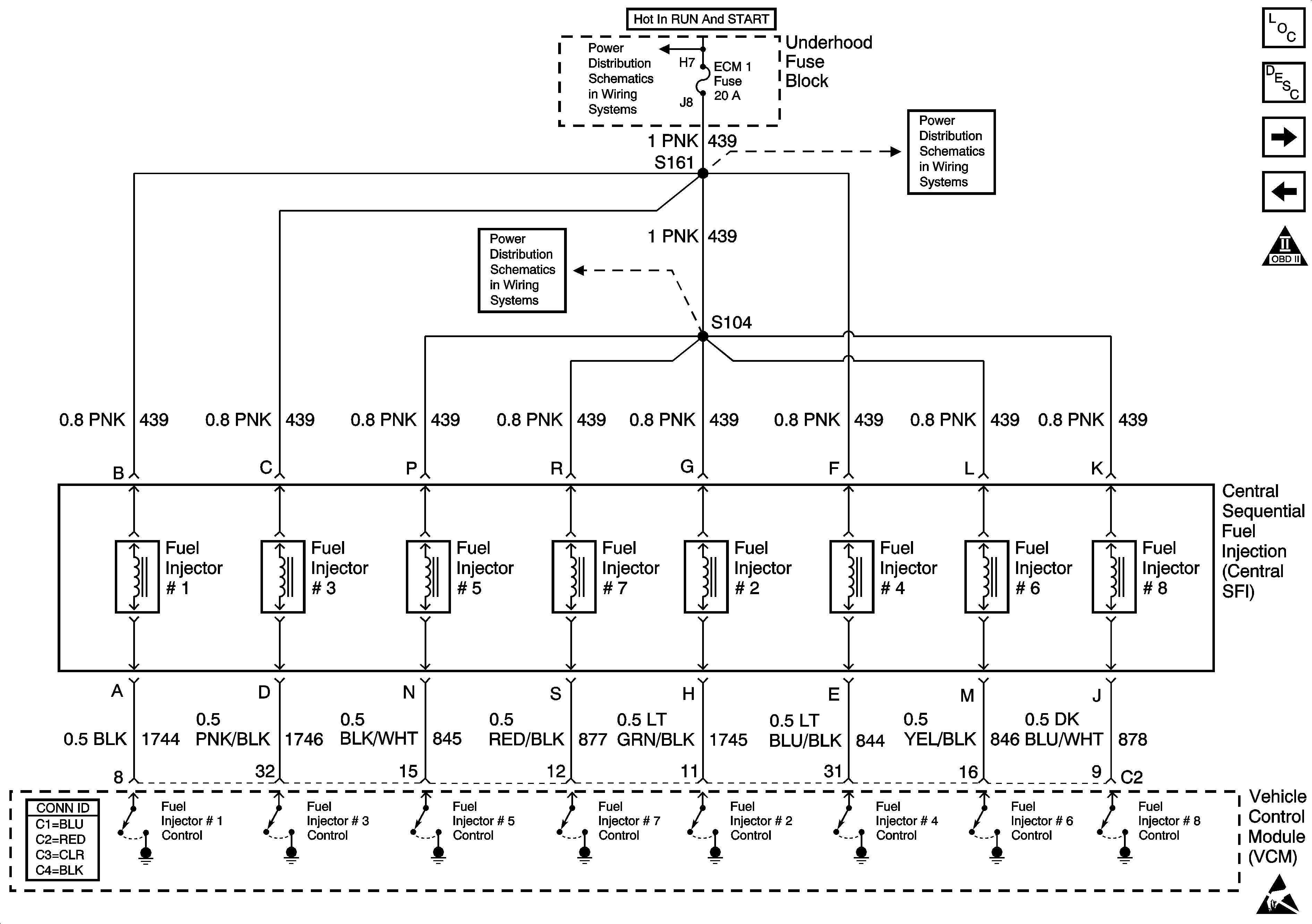
🢒 Fuel Injector Controls
Fuel Injector Controls
Fuel Injector Controls
Engine Controls Components
Central Sequential Duel Injection Fuel System Description
Engine Data Sensors-MAP, IAT, ECT, and TP
EXPORT-Fuel Pump Control, Dual Tanks
OBD II Symbol Description Notice
IGN A Fuse and Ignition Switch
ECM 1 Fuse (5.7L)
ECM 1 Fuse (5.7L)
Handling ESD Sensitive Parts Notice