GM Service Manual Online
For 1990-2009 cars only
Makes
🢒
Cadillac
🢒
2000
🢒
Escalade
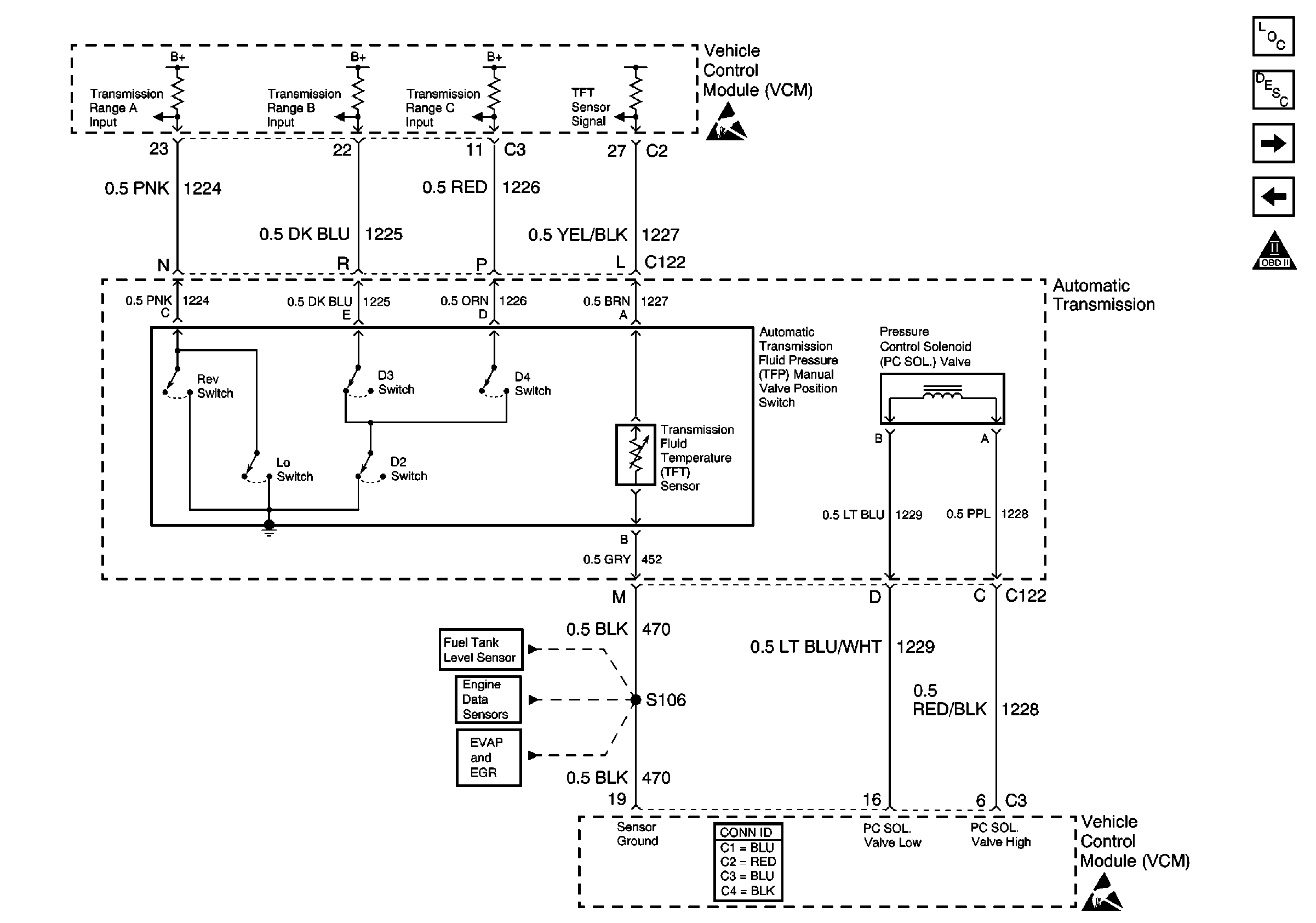
🢒 A/T Internal Switches, TFT, PC Solenoid (Both Transmissions)
A/T Internal Switches, TFT, PC Solenoid (Both Transmissions)
A/T Internal Switches, TFT, PC Solenoid (Both Transmissions)
Engine Controls Components
Electronic Component Description
A/C Compressor Controls
4L80-E Shift Solenoids, TCC/Stoplamps Switch and TISS
OBD II Symbol Description Notice
Handling ESD Sensitive Parts Notice
Handling ESD Sensitive Parts Notice
Fuel Pump Control-Single Tank
Engine Data Sensors-MAP, IAT, ECT, and TP
EVAP and EGR Controls, Fuel Tank Pressure Sensor