GM Service Manual Online
For 1990-2009 cars only
Makes
🢒
Cadillac
🢒
2002
🢒
Escalade EXT
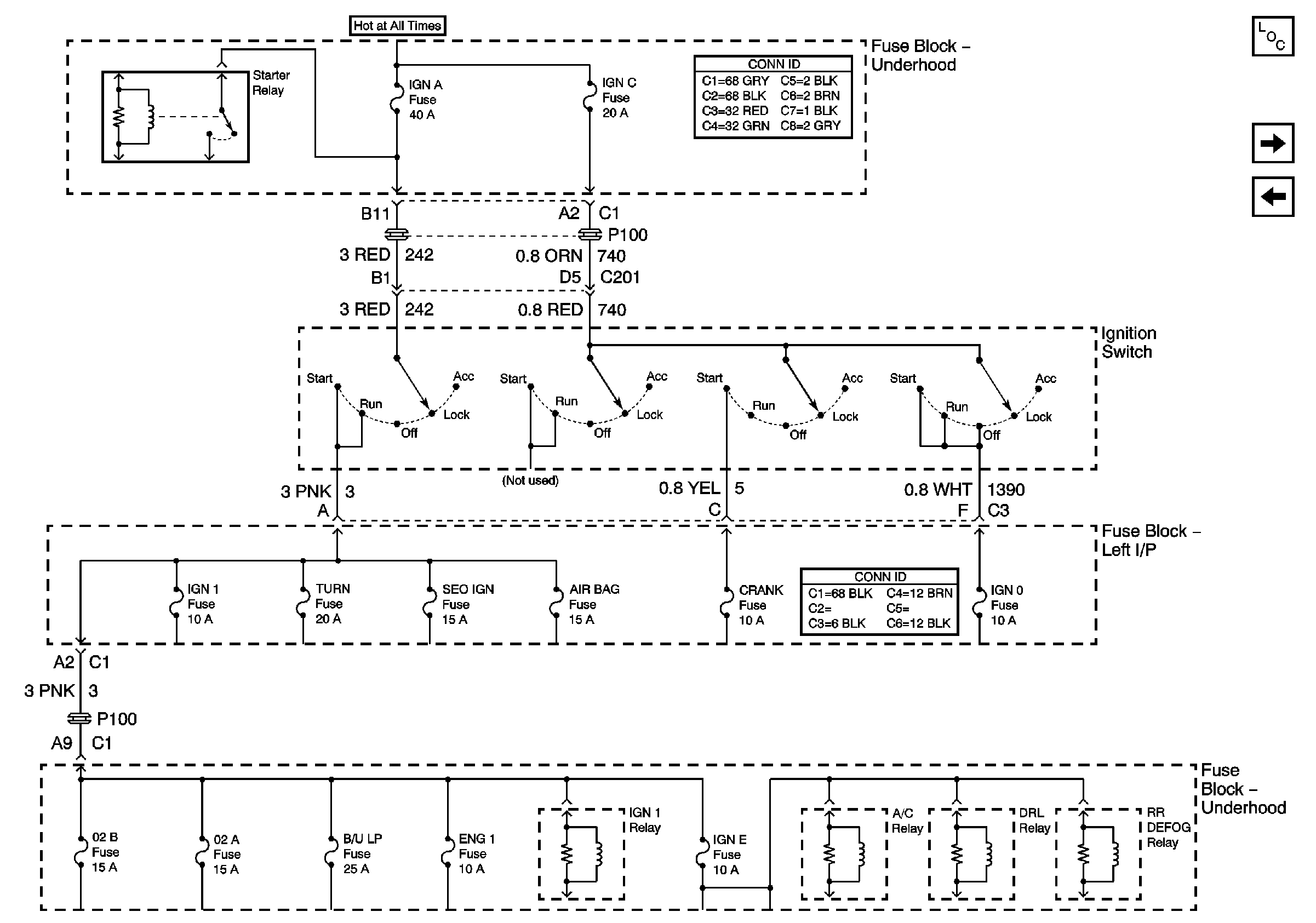
🢒 IGNITION, RUN, and START Bus Bar
IGNITION, RUN, and START Bus Bar
IGNITION, RUN, and START Bus Bar
Master Electrical Component List
IGNITION, RUN, ACCESSORY, and RAP Bus Bars - RAP #1 and RAP #2 Fuses
B+ Bus Bar