GM Service Manual Online
For 1990-2009 cars only
Makes
🢒
Cadillac
🢒
2002
🢒
Escalade EXT
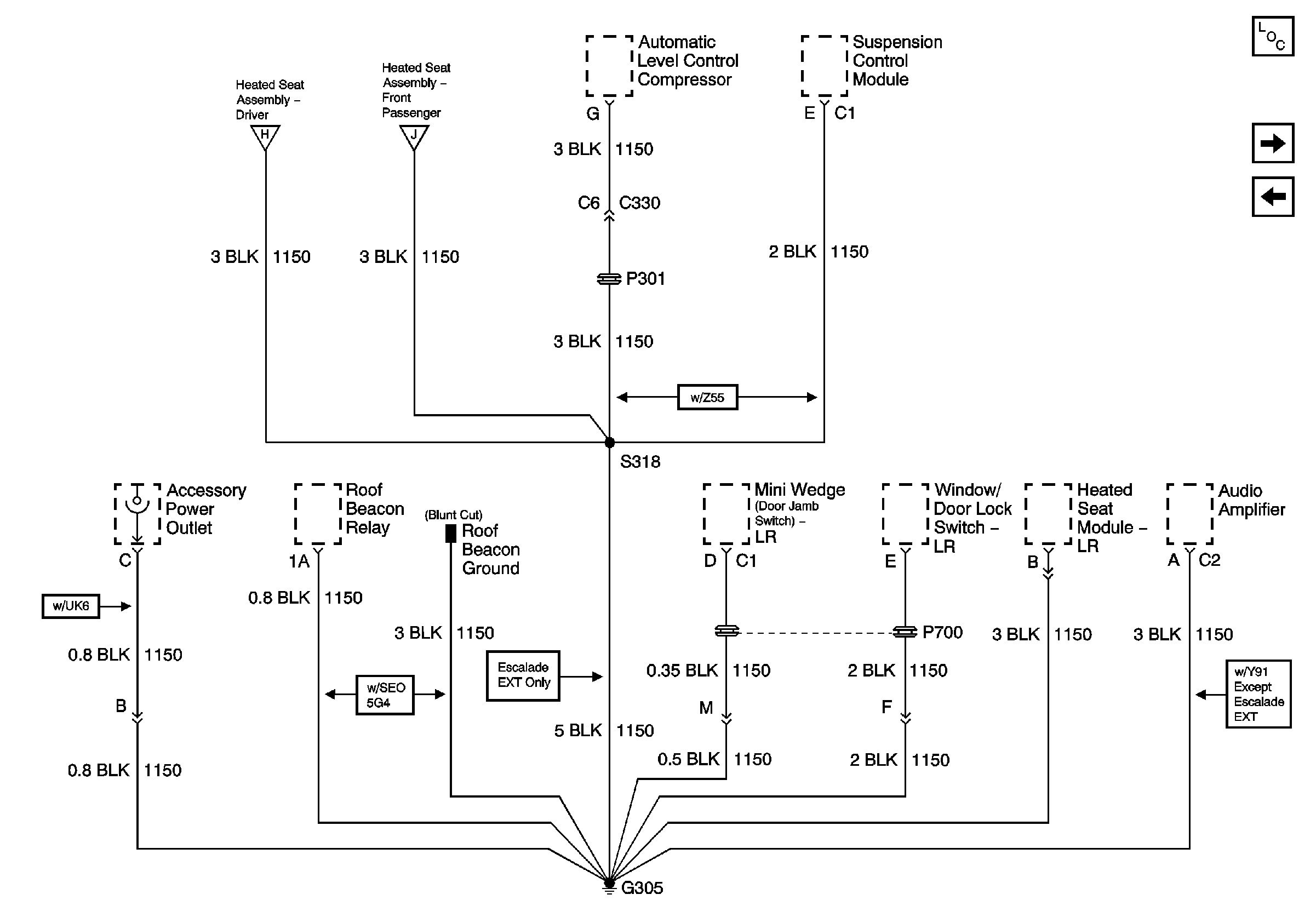
🢒 G305
G305
G305
Master Electrical Component List
G306
G304
G304
G304