GM Service Manual Online
For 1990-2009 cars only
Makes
🢒
Cadillac
🢒
2002
🢒
Escalade EXT
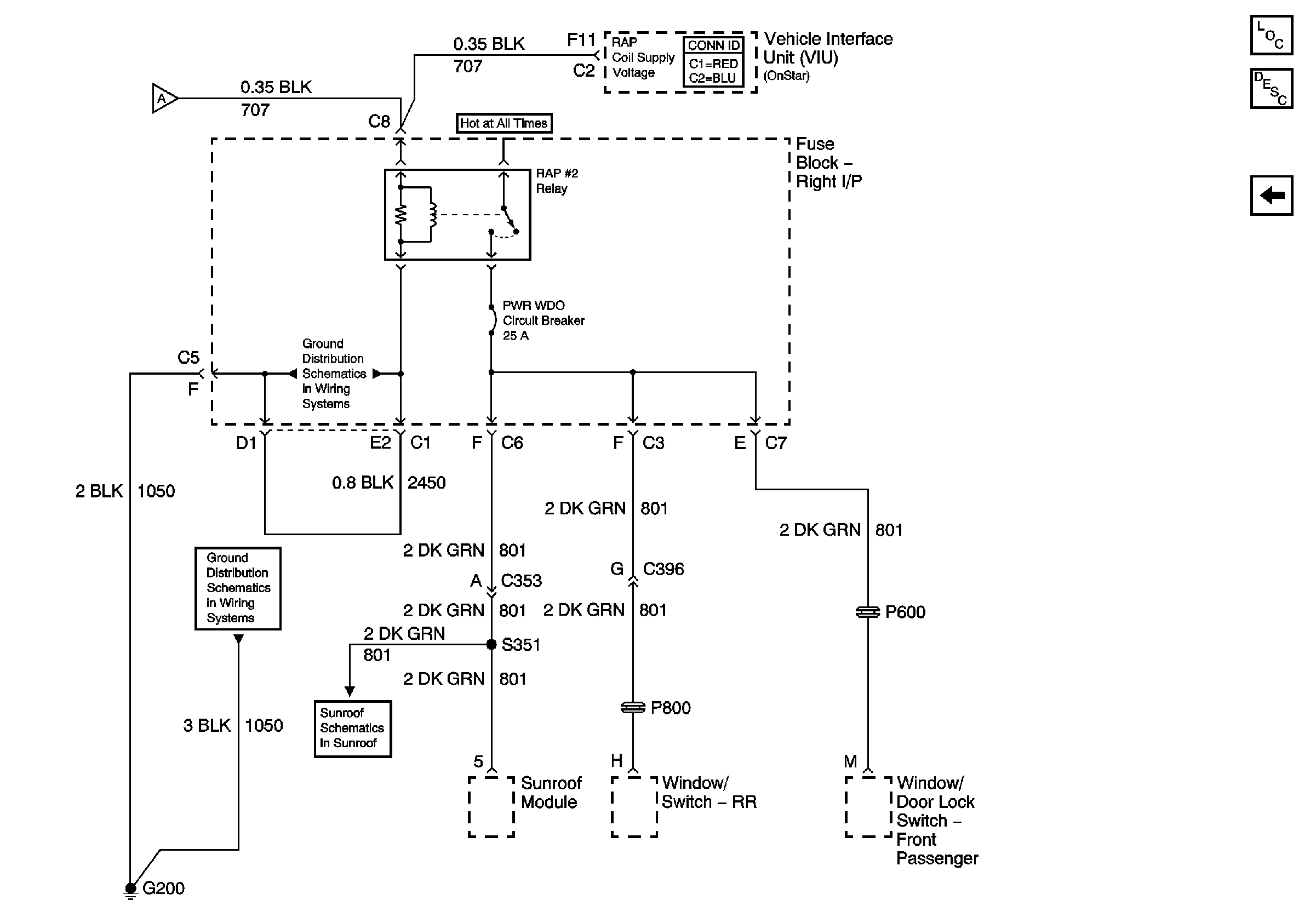
🢒 RAP #2 relay Control
RAP #2 relay Control
RAP #2 Relay Control
Master Electrical Component List
Retained Accessory Power (RAP) Description and Operation
RAP #1 Relay Control
RAP #1 Relay Control
IGNITION, RUN, ACCESSORY, and RAP Bus Bars - RAP #1 and RAP #2 Fuses
G200 - 1 of 2
G200 - 1 of 2
2002 Power Sunroof