GM Service Manual Online
For 1990-2009 cars only
Makes
🢒
Cadillac
🢒
2002
🢒
Escalade EXT
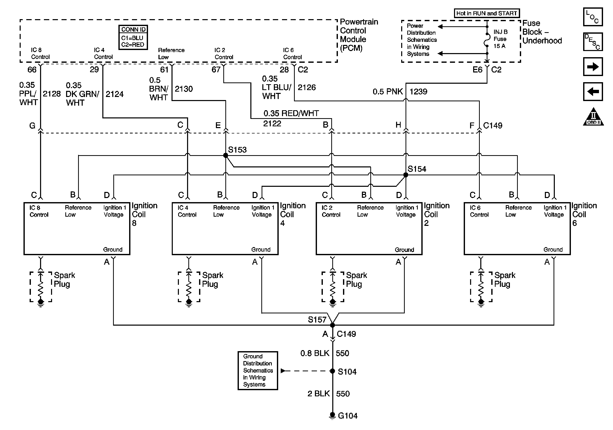
🢒 Ignition Controls - Ignition System Coils 2, 4, 6, 8
Ignition Controls - Ignition System Coils 2, 4, 6, 8
Ignition Controls - Ignition System Coils 2, 4, 6, 8
Master Electrical Component List
Powertrain Control Module Description
Ignition Controls - Ignition System Coils 1, 3, 5, 7
Engine Data Sensors - Electronic Throttle Controls, Accelerator Pedal Position Sensor and Cruise Control
OBD II Symbol Description Notice
ECM 1, ETC, INJ A and INJ B Fuses
G104