GM Service Manual Online
For 1990-2009 cars only
Makes
🢒
Cadillac
🢒
2002
🢒
Escalade EXT
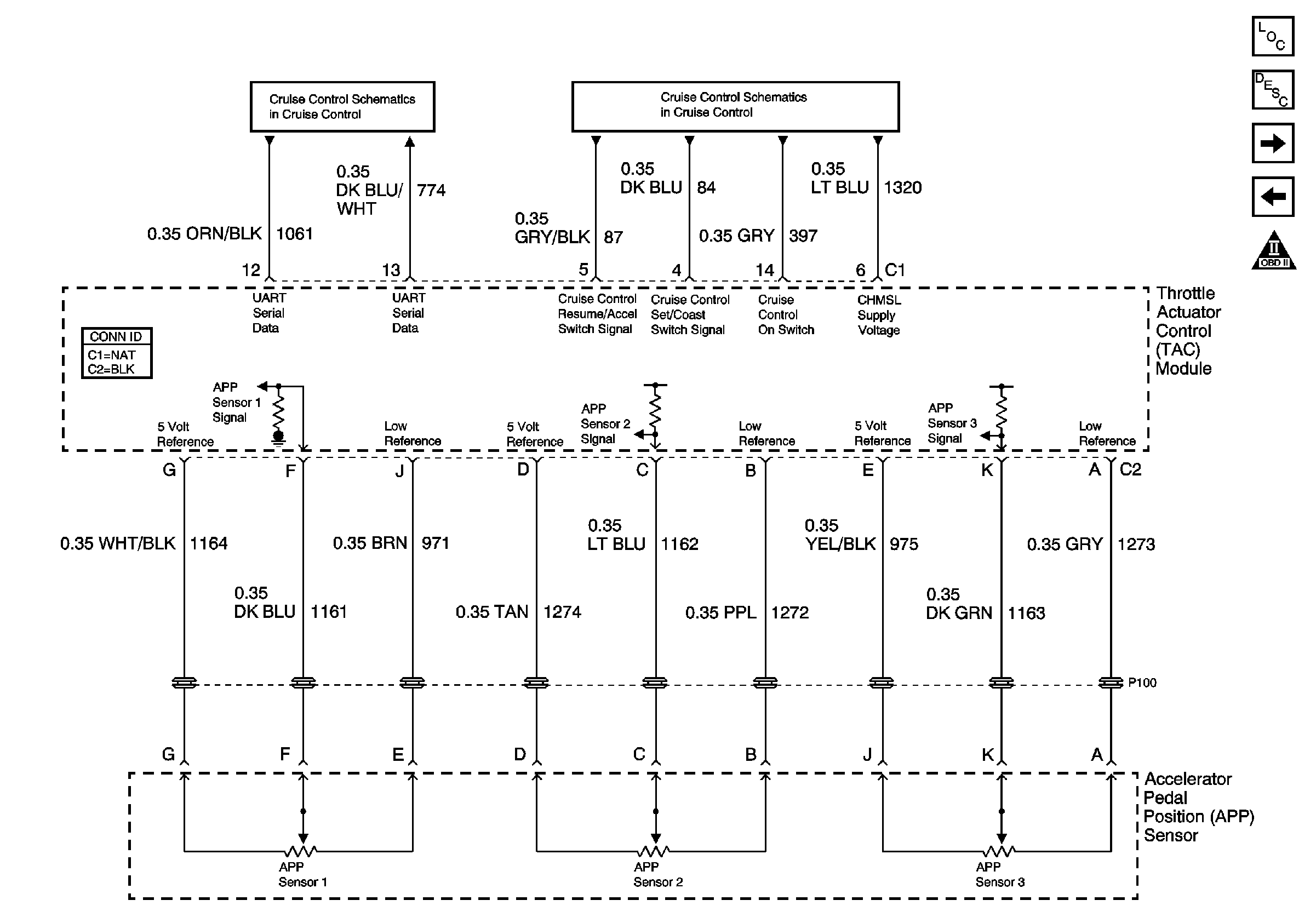
🢒 Engine Data Sensors - Electronic Throttle Controls, Accelerator Pedal Position Sensor and Cruise Control
Engine Data Sensors - Electronic Throttle Controls, Accelerator Pedal Position Sensor and Cruise Control
Engine Data Sensors - Electronic Throttle Controls, Accelerator Pedal Position Sensor and Cruise Control
Master Electrical Component List
Powertrain Control Module Description
Ignition Controls - Ignition System Coils 2, 4, 6, 8
Engine Data Sensors - Electronic Throttle Controls, TAC Motor and TP Sensor
ETC Fuse, PCM, TAC Module, TAC Module, TP Sensor, and Ground (w/ETC)
Power, Cruise Control On/Off Switch, Stop Lamp Switch Input, TAC Module, APP Sensor (w/ETC)