GM Service Manual Online
For 1990-2009 cars only
Makes
🢒
Cadillac
🢒
2002
🢒
Escalade EXT
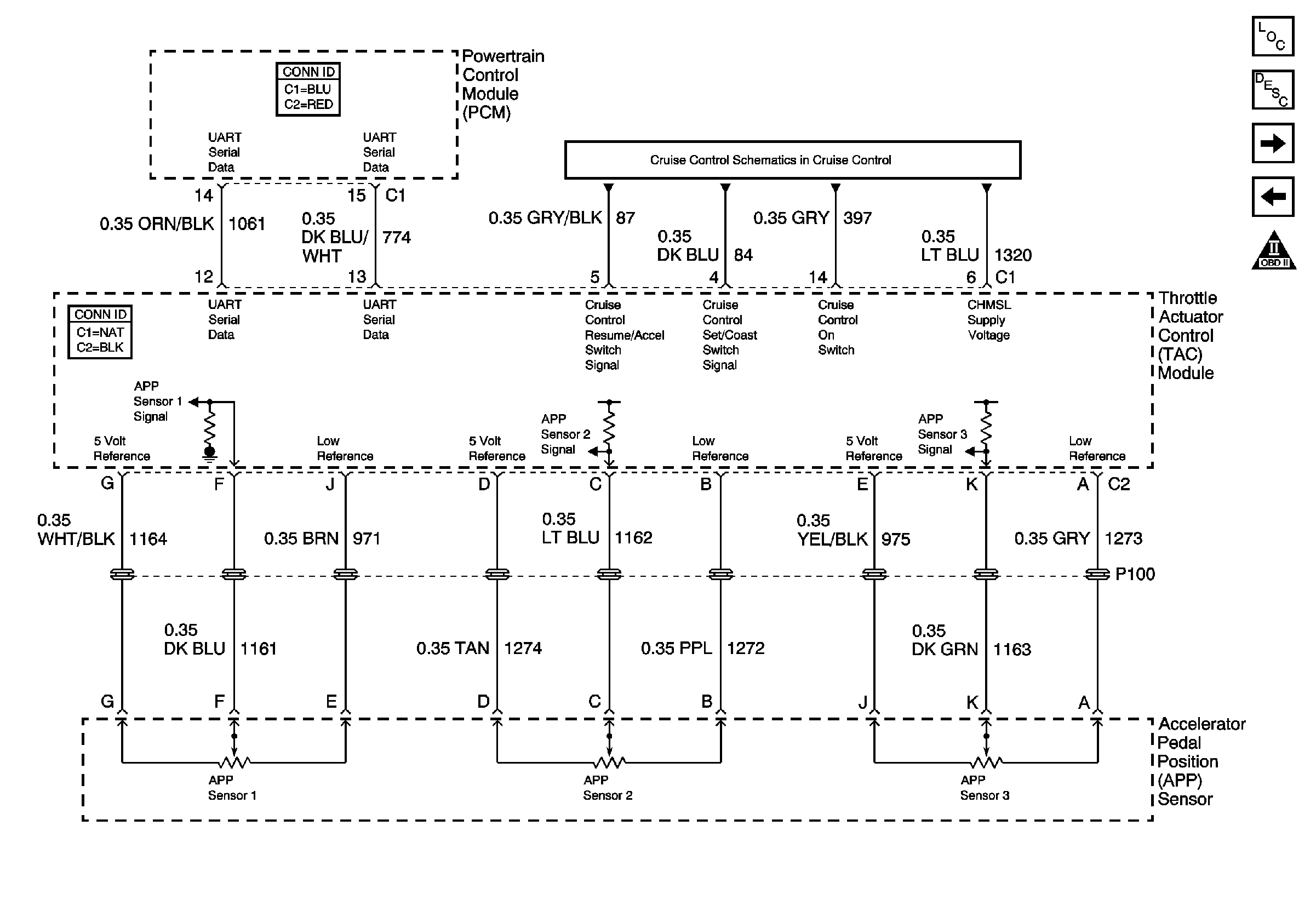
🢒 Engine Data Sensors - Electronic Throttle Controls - APP Sensor
Engine Data Sensors - Electronic Throttle Controls - APP Sensor
Engine Data Sensors - Electronic Throttle Controls - Accelerator Pedal Position Sensor
Master Electrical Component List
Powertrain Control Module Description
Engine Data Sensors - Electronic Throttle Controls - TAC Motor and TP sensor
Engine Data Sensors - HO2S
OBD II Symbol Description Notice
Power, Cruise Control On/Off Switch, Stop Lamp Switch Input, TAC Module, APP Sensor (w/ETC)