GM Service Manual Online
For 1990-2009 cars only
Makes
🢒
Cadillac
🢒
2002
🢒
Escalade EXT
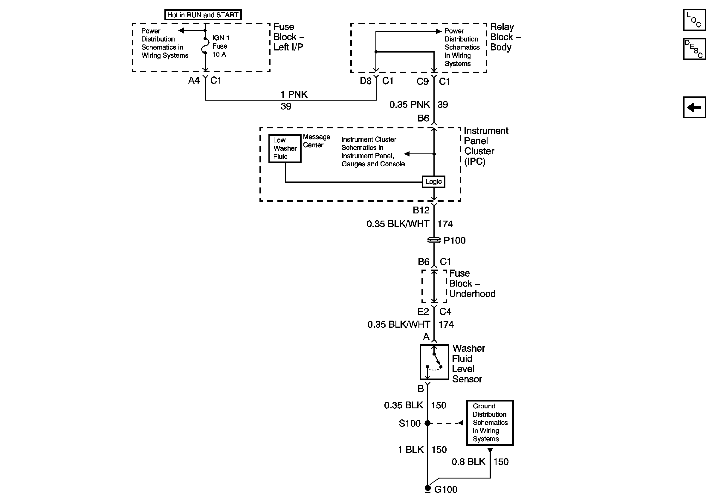
🢒 Washer Fluid Level Sensor - Rear
Washer Fluid Level Sensor - Rear
Washer Fluid Level Sensor - Rear
Master Electrical Component List
Wiper/Washer System Description and Operation
Wiper/Washer Control - Rear
IGN 1, SEO IGN, and AIR BAG Fuses
IGN 1, SEO IGN, and AIR BAG Fuses
Power and Ground
G100 and G110