GM Service Manual Online
For 1990-2009 cars only
Makes
🢒
Cadillac
🢒
2002
🢒
Escalade EXT
🢒 Auxiliary Air Delivery Controls - Sensors and Actuators (w/o Sunroof)- Suburban/Yukon XL
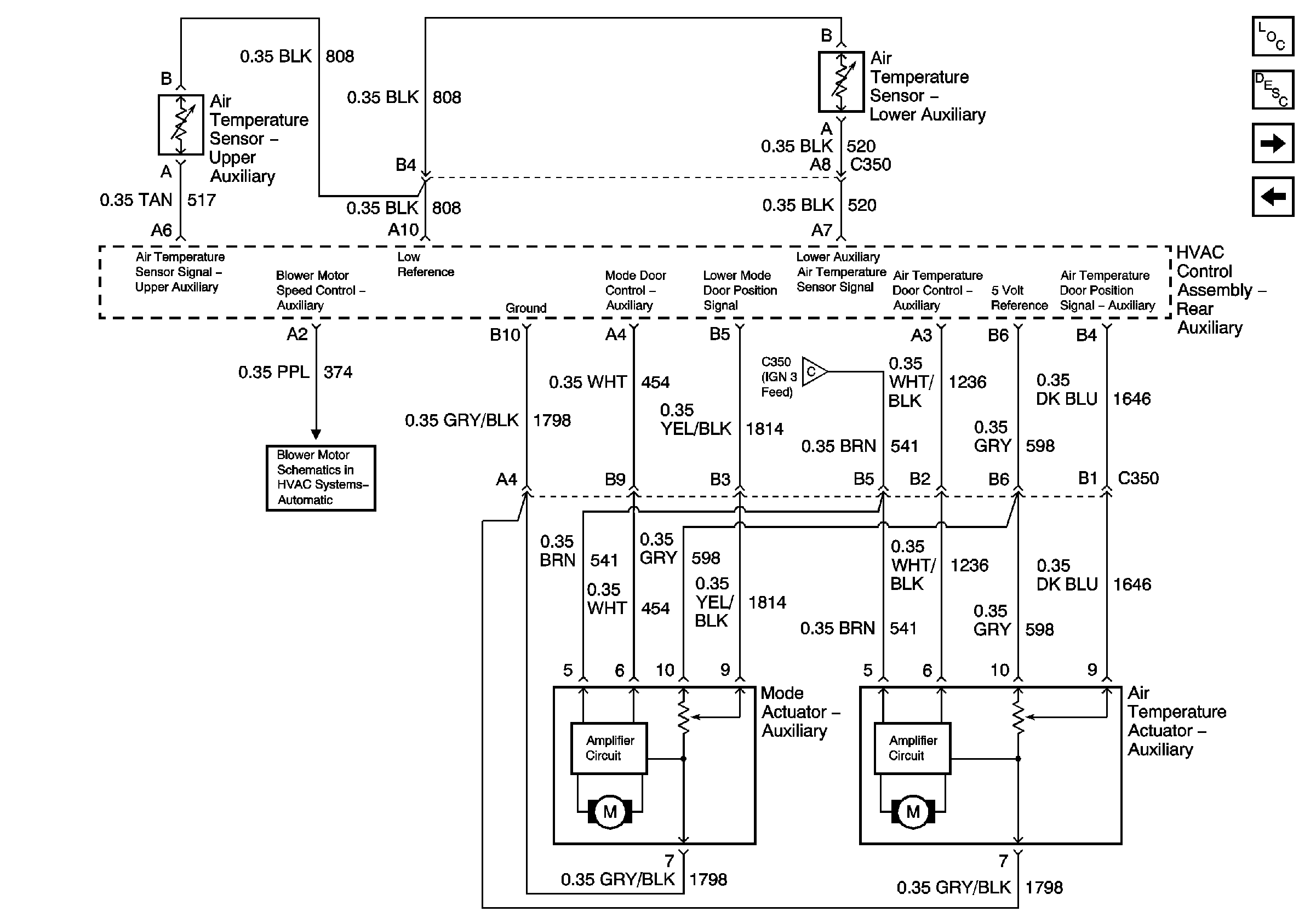
Auxiliary Air Delivery Controls - Sensors and Actuators (w/o Sunroof)- Suburban/Yukon XL
Auxiliary Air Delivery Controls - Sensors and Actuators (w/o Sunroof) - Suburban/Yukon XL
Master Electrical Component List
Air Temperature Description and Operation
Auxiliary Air Delivery Controls - Air Delivery and Temperature Controls(w/o Sunroof)
Auxiliary Air Delivery Controls - Device Controls (w/o Sunroof) - Suburban/Yukon XL
Auxiliary Blower Controls (w/o Sunroof) - Suburban/Yukon XL
Auxiliary Air Delivery Controls - Device Controls (w/o Sunroof) - Suburban/Yukon XL