GM Service Manual Online
For 1990-2009 cars only
Makes
🢒
Cadillac
🢒
2002
🢒
Escalade EXT
🢒 Charging System
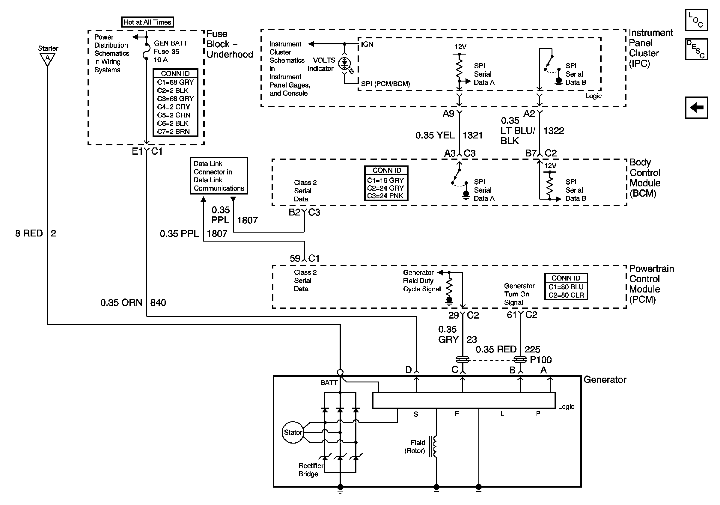
Charging System
Charging System
Master Electrical Component List
Starting System Description and Operation
Starting System
RH HDLP, LH HDLP, and GEN BATT Fuses
Data Link Communication
Starting System