GM Service Manual Online
For 1990-2009 cars only
Makes
🢒
Cadillac
🢒
2002
🢒
Escalade EXT
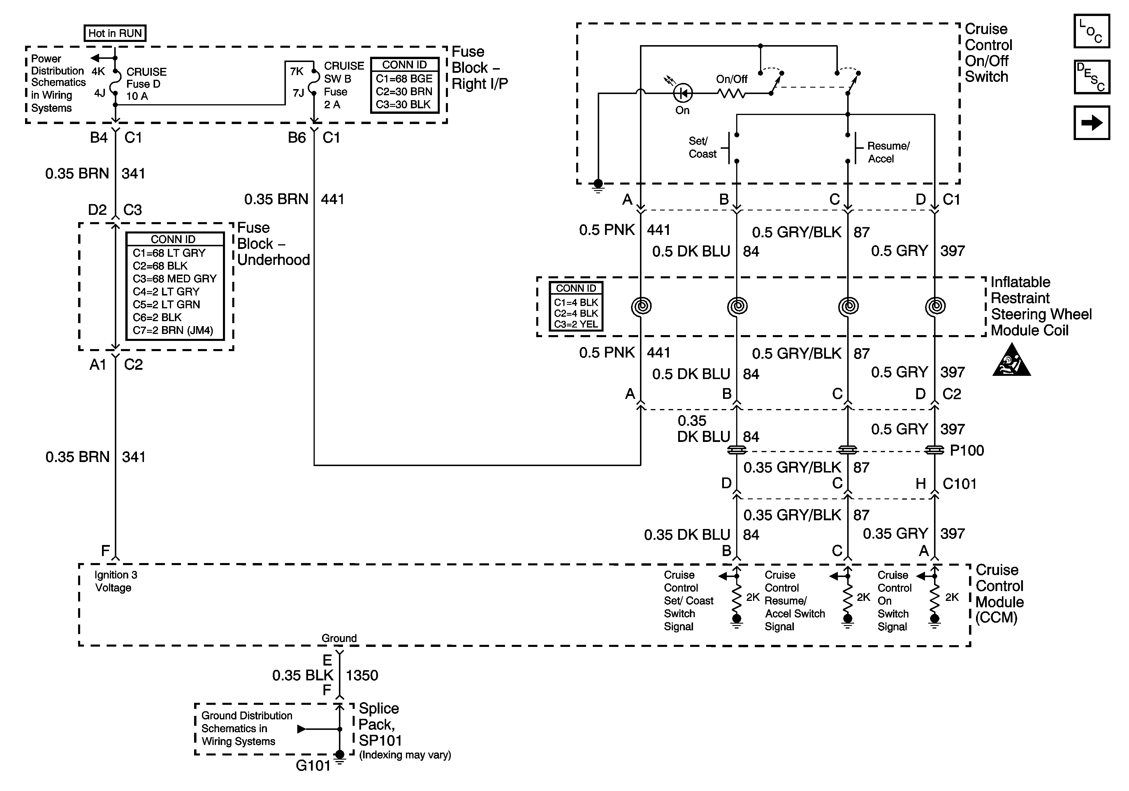
🢒 Power, Ground and Switch
Power, Ground and Switch
Power, Ground and Switch
Master Electrical Component List
Cruise Control Description and Operation
Brake Switch and Inhibit Signals
SIR Caution
CRUISE SW, CRUISE, SUNROOF, and HVAC BLOWER Fuses
SP101